Запчасти Komatsu D85A-21B-ER РАДИАТОР ЧАСТИ КОРПУСА

Схема запчастей Komatsu D85A-21B-ER - РАДИАТОР ЧАСТИ КОРПУСА
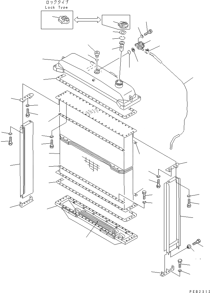
1
2
3
4
4
5
6
6
6
6
7
7
8
8
9
10
11
11
12
12
13
14
15
15A
16
16
17
17
18
18
19
19
20
21
22
23
24
25
26
27
28
29
30
31
32
33
FIT
1:1
100%

Артикул

Название

Примечание

Количество

|1

154-03-00171

CORE ASS'Y

SN: 36537-UP

1шт.

1

154-03-31510

TANK,UPPER

SN: 36537-UP

1шт.

2

07040-13618

PLUG

SN: 36537-UP

1шт.

3

07002-43634

O-RING

SN: 36537-UP

1шт.

4

154-03-11263

GASKET

SN: 36537-UP

2шт.

5

154-03-31130

CORE

SN: 36537-UP

1шт.

6

154-03-11151

PLATE

SN: 36537-UP

4шт.

7

01010-81030

BOLT

SN: 36537-UP

80шт.

8

01602-21030

WASHER

SN: 36537-UP

80шт.

9

154-03-31440

PLATE,L.H

SN: 36537-UP

1шт.

10

154-03-31450

PLATE,R.H

SN: 36537-UP

1шт.

11

01010-81250

BOLT

SN: 36537-UP

4шт.

12

01602-21236

WASHER

SN: 36537-UP

4шт.

13

195-03-22160

SEAT

SN: 36537-UP

4шт.

14

01010-81030

BOLT

SN: 36537-UP

4шт.

15

154-03-31121

TANK,LOWER

SN: 36537-UP

1шт.

15A

154-03-31471

ELEMENT

SN: 36537-UP

1шт.

16

154-03-13140

PLATE

SN: 36537-UP

2шт.

17

01010-81235

BOLT

SN: 36537-UP

8шт.

18

01602-21236

WASHER

SN: 36537-UP

8шт.

19

154-03-13150

PLATE

SN: 36537-UP

2шт.

20

01010-81235

BOLT

SN: 36537-UP

8шт.

21

01602-21236

WASHER

SN: 36537-UP

8шт.

22

195-03-41370

VALVE

SN: 36537-UP

1шт.

23

175-03-32570

SCREEN

SN: 36537-UP

1шт.

24

07000-43045

O-RING

SN: 36537-UP

1шт.

25

01010-81025

BOLT

SN: 36537-UP

2шт.

26

01602-21030

WASHER

SN: 36537-UP

2шт.

27

07053-10000

CAP

SN: 36537-UP

1шт.

28

07053-00002

GASKET

SN: 36537-UP

1шт.

29

07056-00048

STRAINER

SN: 36537-UP

1шт.

30

07057-03271

RING

SN: 36537-UP

1шт.

31

195-03-13131

HOSE

SN: 36537-UP

1шт.

32

07285-00095

CLIP

SN: 36537-UP

1шт.

33

07093-20000

CAP

SN: 36537-UP

1шт.

Выбрано товаров: 35