Запчасти Komatsu D85A-21B-ER ОТВАЛ УПРАВЛЯЮЩ. КЛАПАН (/) ОСНОВН. КОМПОНЕНТЫ И РЕМКОМПЛЕКТЫ

Схема запчастей Komatsu D85A-21B-ER - ОТВАЛ УПРАВЛЯЮЩ. КЛАПАН (/) ОСНОВН. КОМПОНЕНТЫ И РЕМКОМПЛЕКТЫ
FIT
1:1
100%

Артикул

Название

Примечание

Количество

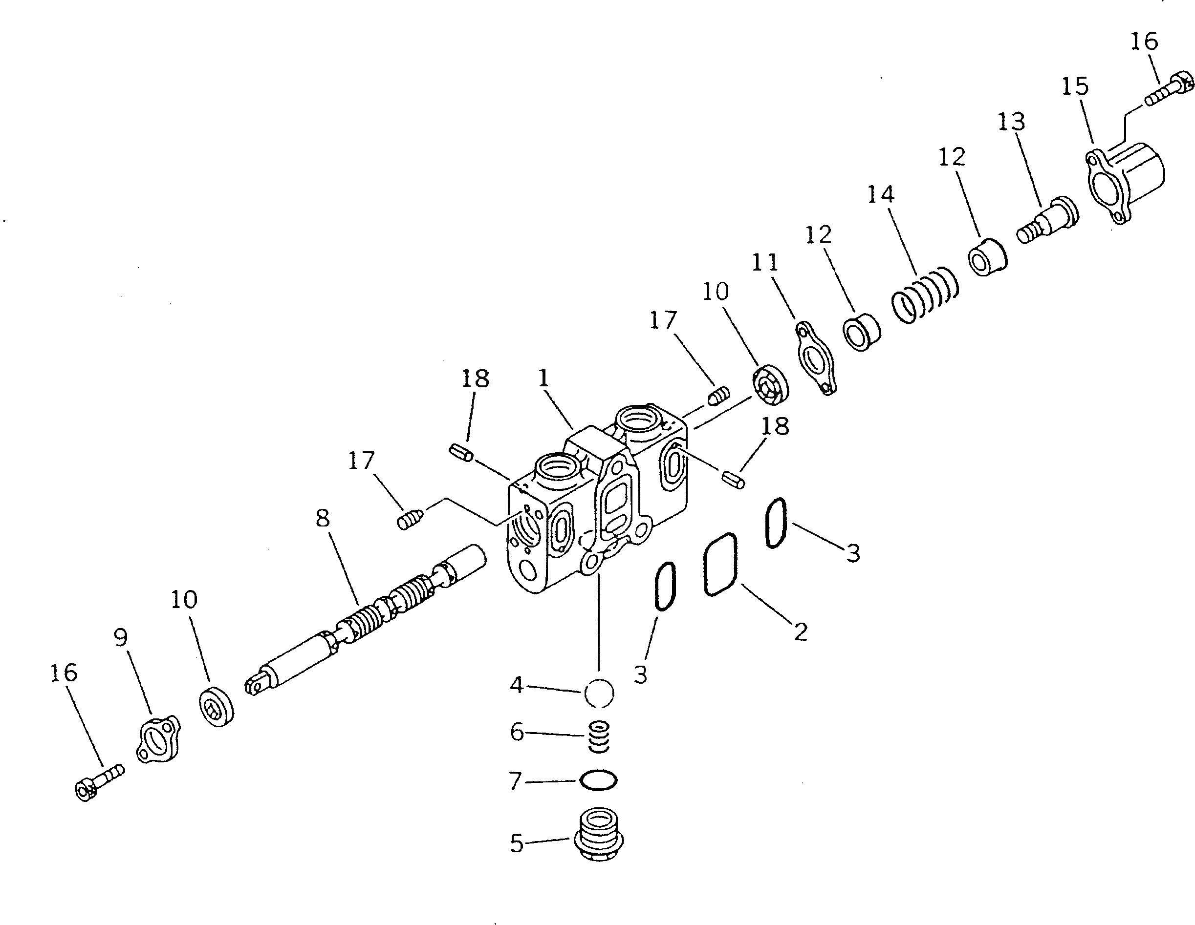
|1

709-62-31103

VALVE ASS'Y

SN: 36537-UP

1шт.

|$$2

THIS ASSEMBLY CONSISTS OF ALL PARTS SHOWN IN FIGS.Y1660-01A0 T0 Y1660-05A0.

-1шт.

|1

709-62-00020

BODY SUB ASS'Y

SN: 36537-UP

1шт.

1

0

BLOCK,VALVE

SN: 36537-UP

1шт.

2

07000-13040

O-RING

SN: 36537-UP

1шт.

3

709-62-31280

O-RING

SN: 36537-UP

2шт.

4

700-22-12340

BALL

SN: 36537-UP

1шт.

5

700-22-11351

PLUG

SN: 36537-UP

1шт.

6

700-22-12350

SPRING

SN: 36537-UP

1шт.

7

07002-12434

O-RING

SN: 36537-UP

1шт.

8

0

SPOOL

SN: 36537-UP

1шт.

9

709-25-11320

PLATE

SN: 36537-UP

1шт.

10

709-25-11290

SEAL

SN: 36537-UP

2шт.

11

709-25-11310

PLATE

SN: 36537-UP

1шт.

12

700-22-11291

RETAINER

SN: 36537-UP

2шт.

13

700-22-11321

PLUG

SN: 36537-UP

1шт.

14

700-23-13130

SPRING

SN: 36537-UP

1шт.

15

700-22-11332

COVER

SN: 36537-UP

1шт.

16

01252-30616

BOLT

SN: 36537-UP

4шт.

17

706-86-51170

PLUG

SN: 36537-UP

3шт.

18

04025-00308

PIN,SPRING

SN: 36537-UP

3шт.

Выбрано товаров: 21