Запчасти Komatsu D85A-21B АККУМУЛЯТОР И РЕЛЕ(№-) КОМПОНЕНТЫ ДВИГАТЕЛЯ И ЭЛЕКТРИКА

Схема запчастей Komatsu D85A-21B - АККУМУЛЯТОР И РЕЛЕ(№-) КОМПОНЕНТЫ ДВИГАТЕЛЯ И ЭЛЕКТРИКА
FIT
1:1
100%

Артикул

Название

Примечание

Количество

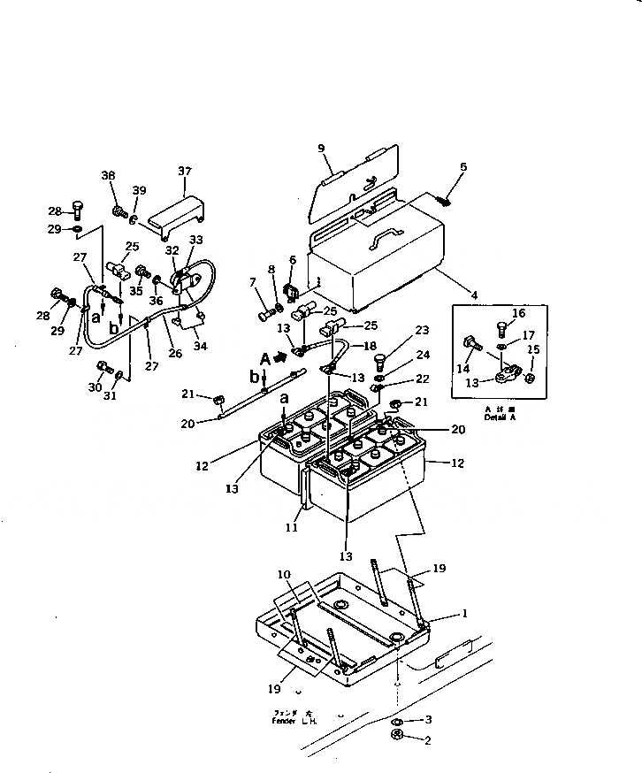
1

154-06-41580

CASE,BATTERY

SN: 36270-UP

1шт.

1

0

CASE,BATTERY

SN: 35001-36269

1шт.

2

01580-11210

NUT

SN: 35001-UP

4шт.

3

01643-31232

WASHER

SN: 35001-UP

4шт.

|$4

154-06-00600

COVER ASS'Y,BATTERY

SN: 35001-36269

1шт.

4

154-06-41570

COVER

SN: 36270-UP

1шт.

4

0

COVER

SN: 35001-36269

1шт.

5

09459-00000

LOCK

SN: 35001-UP

1шт.

6

195-57-11530

CATCH CLIP

SN: 35001-UP

2шт.

7

01220-40512

SCREW

SN: 35001-UP

6шт.

8

01601-20513

WASHER,SPRING

SN: 35001-UP

6шт.

9

154-06-36741

COVER

SN: 35001-UP

1шт.

10

08007-03549

CUSHION,BATTERY

SN: 35001-UP

3шт.

11

08007-06050

CUSHION,BATTERY

SN: 35001-UP

1шт.

12

08000-32220

BATTERY, WET

SN: 35001-UP

2шт.

13

08000-00000

TERMINAL, (+)

SN: 35001-UP

2шт.

13

08000-00001

TERMINAL, (-)

SN: 35001-UP

2шт.

14

01010-50830

BOLT

SN: 35001-UP

1шт.

15

01580-10806

NUT

SN: 35001-UP

1шт.

16

01050-51018

BOLT

SN: 35001-UP

1шт.

17

01640-21016

WASHER

SN: 35001-UP

1шт.

18

08028-15011

WIRE, 110MM

SN: 35001-UP

1шт.

19

175-06-39621

ROD

SN: 35001-UP

4шт.

20

195-06-19461

HOLDER,BATTERY

SN: 35001-UP

2шт.

21

01580-11008

NUT

SN: 35001-UP

8шт.

22

08036-01814

CLIP

SN: 35001-UP

1шт.

23

01010-51016

BOLT

SN: 35001-UP

1шт.

24

01643-31032

WASHER

SN: 35001-UP

1шт.

25

08038-22511

CAP

SN: 35001-UP

4шт.

26

154-06-42190

WIRING HARNESS

SN: 35001-UP

1шт.

27

08035-03014

CLIP

SN: 35001-UP

3шт.

28

01010-51016

BOLT

SN: 35001-UP

2шт.

29

01643-31032

WASHER

SN: 35001-UP

2шт.

30

01010-51220

BOLT

SN: 35001-UP

1шт.

31

01643-31232

WASHER

SN: 35001-UP

1шт.

32

08088-10000

SWITCH,BATTERY RELAY

SN: 35001-UP

1шт.

33

08038-00035

CAP

SN: 35001-UP

1шт.

34

08038-00518

CAP

SN: 35001-UP

2шт.

35

01010-50816

BOLT

SN: 35001-UP

2шт.

36

01602-20825

WASHER,SPRING

SN: 35001-UP

2шт.

37

154-06-36760

COVER

SN: 35001-UP

1шт.

38

01010-50816

BOLT

SN: 35001-UP

2шт.

39

01602-20825

WASHER,SPRING

SN: 35001-UP

2шт.

Выбрано товаров: 43