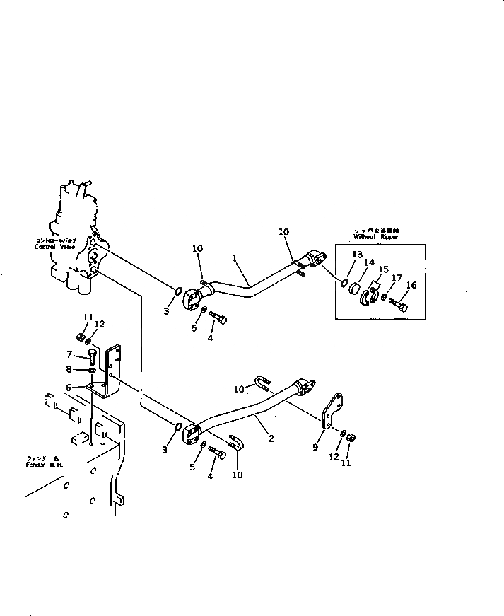
Запчасти Komatsu D85A-21B ГИДРОЛИНИЯ (БАК - ЦИЛИНДР РЫХЛИТЕЛЯ)(№-) УПРАВЛ-Е РАБОЧИМ ОБОРУДОВАНИЕМ

Схема запчастей Komatsu D85A-21B - ГИДРОЛИНИЯ (БАК - ЦИЛИНДР РЫХЛИТЕЛЯ)(№-) УПРАВЛ-Е РАБОЧИМ ОБОРУДОВАНИЕМ
FIT
1:1
100%

Артикул

Название

Примечание

Количество

1

154-78-42410

TUBE

SN: 35001-UP

1шт.

2

154-78-42420

TUBE

SN: 35001-UP

1шт.

3

07000-13035

O-RING

SN: 35001-UP

2шт.

4

01010-51060

BOLT

SN: 35001-UP

8шт.

5

01643-31032

WASHER

SN: 35001-UP

8шт.

6

154-78-42430

BRACKET

SN: 35001-UP

1шт.

7

01010-51235

BOLT

SN: 35001-UP

2шт.

8

01643-31232

WASHER

SN: 35001-UP

2шт.

9

154-78-42440

BRACKET

SN: 35001-UP

1шт.

10

07283-23442

CLIP

SN: 35001-UP

4шт.

11

01599-01011

NUT

SN: 35001-UP

8шт.

12

01643-31032

WASHER

SN: 35001-UP

8шт.

13

07000-13032

O-RING

SN: 35001-UP

2шт.

14

07378-11000

HEAD

SN: 35001-UP

2шт.

15

07371-31049

FLANGE,SPRIT

SN: 35001-UP

4шт.

16

07372-21035

BOLT

SN: 35001-UP

8шт.

17

01643-51032

WASHER

SN: 35001-UP

8шт.

Выбрано товаров: 17