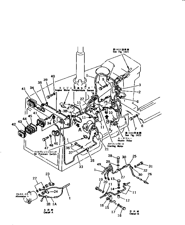
Запчасти Komatsu D85A-21B ЭЛЕКТРИКА (/)(№-) КОМПОНЕНТЫ ДВИГАТЕЛЯ И ЭЛЕКТРИКА

Схема запчастей Komatsu D85A-21B - ЭЛЕКТРИКА (/)(№-) КОМПОНЕНТЫ ДВИГАТЕЛЯ И ЭЛЕКТРИКА
FIT
1:1
100%

Артикул

Название

Примечание

Количество

1

154-06-42140

WIRING HARNESS

SN: 35001-UP

1шт.

1A

195-06-25320

WIRE ASS'Y

SN: 35001-UP

1шт.

1B

198-06-12810

FUSE

SN: 35001-UP

1шт.

2

08036-03014

CLIP

SN: 35001-UP

1шт.

3

08036-01814

CLIP

SN: 35001-UP

4шт.

4

01010-51220

BOLT

SN: 35001-UP

1шт.

5

01643-31232

WASHER

SN: 35001-UP

1шт.

6

08036-01814

CLIP

SN: 35001-UP

1шт.

7

01010-51220

BOLT

SN: 35001-UP

1шт.

8

01643-31232

WASHER

SN: 35001-UP

1шт.

9

08038-02027

CAP

SN: 35001-UP

1шт.

10

08038-00519

CAP

SN: 35001-UP

1шт.

11

08036-01414

CLIP

SN: 35001-UP

7шт.

12

195-33-11220

SPACER

SN: 35001-UP

1шт.

13

01010-51050

BOLT

SN: 35001-UP

1шт.

14

01643-31032

WASHER

SN: 35001-UP

1шт.

15

154-06-41390

BRACKET

SN: 35001-UP

1шт.

16

01010-51030

BOLT

SN: 35001-UP

1шт.

17

01643-31032

WASHER

SN: 35001-UP

1шт.

18

01580-11008

NUT

SN: 35001-UP

1шт.

19

01010-51220

BOLT

SN: 35001-UP

3шт.

20

01643-31032

WASHER

SN: 35001-UP

3шт.

21

08036-11214

CLIP

SN: 35001-UP

2шт.

22

01640-20610

WASHER

SN: 35001-UP

2шт.

23

08038-02027

CAP

SN: 35001-UP

1шт.

24

140-06-18260

CAP

SN: 35001-UP

1шт.

25

154-06-42150

WIRING HARNESS

SN: 35001-UP

1шт.

26

08620-00000

SENSOR

SN: 35001-UP

1шт.

27

195-06-41820

CLIP

SN: 35001-UP

2шт.

28

01010-51220

BOLT

SN: 35001-UP

1шт.

29

01643-31232

WASHER

SN: 35001-UP

1шт.

30

08036-10814

CLIP

SN: 35001-UP

2шт.

31

01010-51220

BOLT

SN: 35001-UP

2шт.

32

01643-31232

WASHER

SN: 35001-UP

2шт.

33

154-06-42160

WIRING HARNESS

SN: 35001-UP

1шт.

34

201-43-28440

GROMMET

SN: 35001-UP

2шт.

35

195-06-41820

CLIP

SN: 35001-UP

1шт.

36

01010-51220

BOLT

SN: 35001-UP

1шт.

37

01643-31232

WASHER

SN: 35001-UP

1шт.

38

08036-11214

CLIP

SN: 35001-UP

3шт.

39

01010-51220

BOLT

SN: 35001-UP

3шт.

40

01643-31232

WASHER

SN: 35001-UP

3шт.

|$42

22W-06-12381

LAMP ASS'Y

SN: 35001-UP

2шт.

41

22W-06-12280

HOUSING

SN: 35001-UP

1шт.

42

22W-06-12170

BULB

SN: 35001-UP

1шт.

43

22W-06-12120

RING

SN: 35001-UP

1шт.

44

22W-06-12290

CUSHION

SN: 35001-UP

1шт.

45

22W-06-12130

RING

SN: 35001-UP

1шт.

46

175-06-41110

HORN

SN: 35238-UP

1шт.

46

0

HORN

SN: 35001-35237

1шт.

47

01010-50820

BOLT

SN: 35001-UP

2шт.

48

01602-20825

WASHER

SN: 35001-UP

2шт.

49

08034-00519

BAND

SN: 35001-UP

1шт.

Выбрано товаров: 53