Запчасти Komatsu D85A-21B ЗАЩИТА ОТ ВАНДАЛИЗМА(№-) МАРКИРОВКА¤ ИНСТРУМЕНТ И РЕМКОМПЛЕКТЫ

Схема запчастей Komatsu D85A-21B - ЗАЩИТА ОТ ВАНДАЛИЗМА(№-) МАРКИРОВКА¤ ИНСТРУМЕНТ И РЕМКОМПЛЕКТЫ
FIT
1:1
100%

Артикул

Название

Примечание

Количество

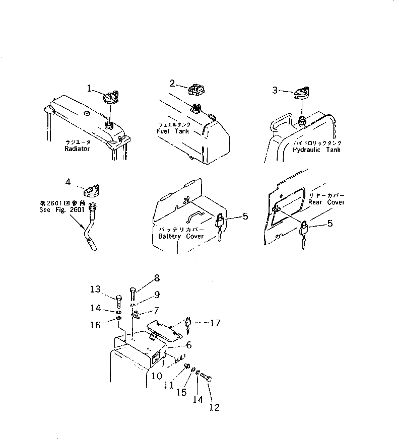
G-1

0

VANDALISM CAP GROUP

SN: 35150-UP

1шт.

|$$2

====================

-1шт.

1

07093-20000

CAP,RADIATOR

SN: 35150-UP

1шт.

1

07053-00002

GASKET

SN: 35150-UP

1шт.

2

07091-21200

CAP,FUEL TANK

SN: 35150-UP

1шт.

3

07092-00000

CAP,HYDRAULIC TANK

SN: 35150-UP

1шт.

3

07051-00003

GASKET

SN: 35150-UP

1шт.

4

07092-00000

CAP,STEERING OIL TANK

SN: 35150-UP

1шт.

4

07051-00003

GASKET

SN: 35150-UP

1шт.

5

09460-00003

LOCK

SN: 35150-UP

3шт.

|$$11

====================

-1шт.

6

154-55-18510

COVER

SN: 35150-UP

1шт.

7

198-54-19150

SPRING

SN: 35150-UP

2шт.

8

01010-50612

BOLT

SN: 35150-UP

4шт.

9

01602-20619

WASHER,SPRING

SN: 35150-UP

4шт.

10

154-55-18520

PLATE

SN: 35150-UP

1шт.

11

135-54-15191

COLLAR

SN: 35150-UP

1шт.

12

01010-51230

BOLT

SN: 35150-UP

1шт.

13

01010-51225

BOLT

SN: 35150-UP

5шт.

14

01602-31236

WASHER,SPRING

SN: 35150-UP

6шт.

15

01640-21223

WASHER

SN: 35150-UP

1шт.

16

01643-31232

WASHER

SN: 35150-UP

5шт.

17

09460-00000

LOCK

SN: 35150-UP

1шт.

Выбрано товаров: 23