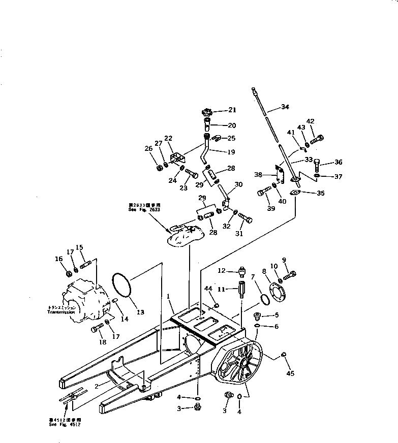
Запчасти Komatsu D85A-21B КОРПУС БЛОКА УПРАВЛЕНИЯ ПОВОРОТОМ И ОСНОВНАЯ РАМА(№-) ГТР CONVERTOR¤ ТРАНСМИССИЯ¤ РУЛЕВ. УПРАВЛЕНИЕ И КОНЕЧНАЯ ПЕРЕДАЧА

Схема запчастей Komatsu D85A-21B - КОРПУС БЛОКА УПРАВЛЕНИЯ ПОВОРОТОМ И ОСНОВНАЯ РАМА(№-) ГТР CONVERTOR¤ ТРАНСМИССИЯ¤ РУЛЕВ. УПРАВЛЕНИЕ И КОНЕЧНАЯ ПЕРЕДАЧА
FIT
1:1
100%

Артикул

Название

Примечание

Количество

|$0

154-21-41100

CASE ASS'Y

SN: 35001-UP

1шт.

1

154-21-41410

FRAME

SN: 35001-UP

1шт.

2

154-21-41420

BRACKET,CROSS (WELDED)

SN: 35001-UP

1шт.

3

07044-13620

PLUG,MAGNETIC

SN: 35001-UP

3шт.

4

07002-03634

O-RING

SN: 35001-UP

3шт.

5

07040-13618

PLUG

SN: 35001-UP

2шт.

6

07002-03634

O-RING

SN: 35001-UP

2шт.

7

07000-05195

O-RING

SN: 35001-UP

1шт.

8

175-21-32170

COVER

SN: 35001-UP

1шт.

9

01010-52040

BOLT

SN: 35001-UP

6шт.

10

01643-32060

WASHER

SN: 35001-UP

6шт.

11

154-21-11830

NIPPLE

SN: 35001-UP

2шт.

12

07030-00252

BREATHER

SN: 35001-UP

2шт.

13

07000-05440

O-RING

SN: 35001-UP

1шт.

14

04020-01842

PIN,DOWEL

SN: 35001-UP

1шт.

15

01120-31645

STUD

SN: 35001-UP

2шт.

16

01582-11613

NUT

SN: 35001-UP

2шт.

17

01643-31645

WASHER

SN: 35001-UP

10шт.

18

01010-51645

BOLT

SN: 35001-UP

8шт.

19

154-21-44110

TUBE

SN: 35001-UP

1шт.

20

07056-10045

STRAINER

SN: 35001-UP

1шт.

21

07051-01000

CAP

SN: 36664-UP

1шт.

21

0

CAP

SN: 35001-36663

1шт.

22

154-21-44140

BRACKET

SN: 35001-UP

1шт.

23

01010-51225

BOLT

SN: 35001-UP

2шт.

24

01643-31232

WASHER

SN: 35001-UP

2шт.

25

07283-24949

CLIP

SN: 35001-UP

2шт.

26

01599-01011

NUT

SN: 35001-UP

4шт.

27

01643-31032

WASHER

SN: 35001-UP

4шт.

28

07260-24111

HOSE

SN: 35001-UP

2шт.

29

07281-00549

CLAMP

SN: 35001-UP

4шт.

30

154-21-44130

TUBE

SN: 35001-UP

1шт.

31

01010-51225

BOLT

SN: 35001-UP

2шт.

32

01643-31232

WASHER

SN: 35001-UP

2шт.

33

154-21-44150

TUBE

SN: 35001-UP

1шт.

34

154-21-44160

GAUGE

SN: 35001-UP

1шт.

35

6696-61-9921

GASKET

SN: 36444-UP

1шт.

35

0

GASKET

SN: 35001-36443

1шт.

36

01010-51245

BOLT

SN: 35001-UP

2шт.

37

01643-51232

WASHER

SN: 35001-UP

2шт.

38

154-21-44170

BRACKET

SN: 35001-UP

1шт.

39

01010-51225

BOLT

SN: 35001-UP

1шт.

40

01643-31232

WASHER

SN: 35001-UP

1шт.

41

07282-01568

CLAMP

SN: 35001-UP

1шт.

42

01010-50820

BOLT

SN: 35001-UP

2шт.

43

01643-30823

WASHER

SN: 35001-UP

2шт.

44

07049-03342

PLUG

SN: 35001-UP

16шт.

45

07049-02025

PLUG

SN: 35001-UP

2шт.

Выбрано товаров: 48