Запчасти Komatsu D85A-21B ГИДРАВЛИКА РУЛ. УПРАВЛЕНИЯ (/)(№-) СИСТЕМА УПРАВЛЕНИЯ

Схема запчастей Komatsu D85A-21B - ГИДРАВЛИКА РУЛ. УПРАВЛЕНИЯ (/)(№-) СИСТЕМА УПРАВЛЕНИЯ
FIT
1:1
100%

Артикул

Название

Примечание

Количество

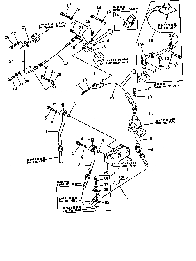
1

154-49-51250

TUBE

SN: 35001-UP

1шт.

2

154-49-51760

TUBE

SN: 35001-UP

1шт.

3

07042-30108

PLUG

SN: 35001-UP

2шт.

4

07000-03035

O-RING

SN: 35001-UP

2шт.

5

01010-51045

BOLT

SN: 35001-UP

4шт.

6

01643-31032

WASHER

SN: 35001-UP

4шт.

7

07102-20614

HOSE

SN: 35001-UP

1шт.

8

154-49-51270

ELBOW

SN: 35001-UP

1шт.

9

07002-02434

O-RING

SN: 35001-UP

1шт.

10

07102-21011

HOSE

SN: 35125-UP

1шт.

10

0

HOSE

SN: 35001-35124

1шт.

10A

154-49-51930

TUBE

SN: 35125-UP

1шт.

11

07000-03032

O-RING

SN: 35125-UP

1шт.

11

07000-03032

O-RING

SN: 35001-35124

2шт.

12

01010-51035

BOLT

SN: 35125-UP

2шт.

12

01010-51035

BOLT

SN: 35001-35124

4шт.

13

01643-31032

WASHER

SN: 35125-UP

2шт.

13

01643-31032

WASHER

SN: 35001-35124

4шт.

14

154-49-51381

BLOCK

SN: 35125-UP

1шт.

14

0

BLOCK

SN: 35001-35124

1шт.

15

07042-30108

PLUG

SN: 35001-UP

1шт.

16

07000-03030

O-RING

SN: 35001-UP

2шт.

17

01010-51090

BOLT

SN: 35001-UP

2шт.

18

01010-51075

BOLT

SN: 35001-UP

1шт.

19

01643-31032

WASHER

SN: 35001-UP

3шт.

20

07102-20304

HOSE

SN: 35001-UP

1шт.

21

07235-50315

ELBOW

SN: 35001-UP

1шт.

22

07042-30108

PLUG

SN: 35001-UP

1шт.

23

07002-02034

O-RING

SN: 35001-UP

1шт.

24

154-01-21710

TUBE

SN: 35001-UP

1шт.

25

07000-03025

O-RING

SN: 35001-UP

1шт.

26

01010-51030

BOLT

SN: 35001-UP

2шт.

27

01643-31032

WASHER

SN: 35001-UP

2шт.

28

154-01-21750

BRACKET

SN: 35001-UP

1шт.

29

22X-61-16760

CLAMP

SN: 35001-UP

1шт.

30

01010-51020

BOLT

SN: 35001-UP

2шт.

31

01643-31032

WASHER

SN: 35001-UP

2шт.

32

195-49-11870

CLAMP

SN: 35125-UP

2шт.

33

01010-51255

BOLT

SN: 35125-UP

1шт.

34

195-33-11220

SPACER

SN: 35125-UP

1шт.

35

176-61-41420

CLIP

SN: 35184-UP

2шт.

36

01010-51055

BOLT

SN: 35184-UP

1шт.

37

01643-31032

WASHER

SN: 35184-UP

1шт.

Выбрано товаров: 43