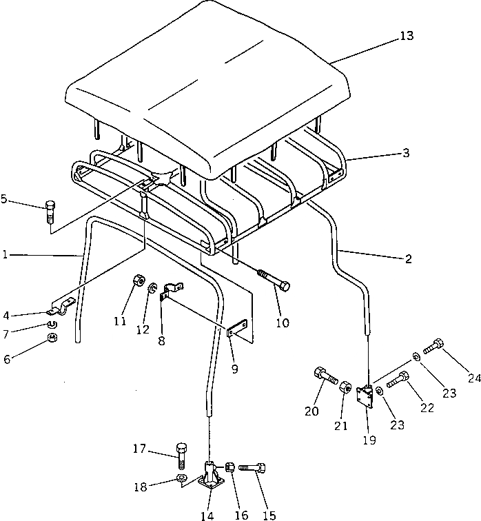
Запчасти Komatsu D85A-21B НАВЕС (ДЛЯ ШЛАКОВОЕ. ПР-ВО) КАБИНА ОПЕРАТОРА И СИСТЕМА УПРАВЛЕНИЯ

Схема запчастей Komatsu D85A-21B - НАВЕС (ДЛЯ ШЛАКОВОЕ. ПР-ВО) КАБИНА ОПЕРАТОРА И СИСТЕМА УПРАВЛЕНИЯ
FIT
1:1
100%

Артикул

Название

Примечание

Количество

|$1

154-906-0090

CANOPY ASS'Y

SN: 36537-UP

1шт.

1

154-906-1160

POLE

SN: 36537-UP

1шт.

2

175-906-2121

POLE

SN: 36537-UP

1шт.

3

195-906-1162

ROOF

SN: 36537-UP

1шт.

4

195-906-1141

CLAMP

SN: 36537-UP

2шт.

5

01010-81245

BOLT

SN: 36537-UP

4шт.

6

01580-01210

NUT

SN: 36537-UP

4шт.

7

01643-31232

WASHER,SPRING

SN: 36537-UP

4шт.

8

195-906-1141

CLAMP

SN: 36537-UP

4шт.

9

195-906-1260

SHIM, 2.3MM

SN: 36537-UP

12шт.

10

01010-81260

BOLT

SN: 36537-UP

8шт.

11

01580-01210

NUT

SN: 36537-UP

8шт.

12

01643-31232

WASHER,SPRING

SN: 36537-UP

8шт.

13

154-906-3120

SHEET

SN: 36537-UP

1шт.

14

09470-06420

BRACKET

SN: 36537-UP

2шт.

15

01016-31450

BOLT

SN: 36537-UP

4шт.

16

01580-01411

NUT

SN: 36537-UP

4шт.

17

01010-61440

BOLT

SN: 36537-UP

8шт.

18

01643-31445

WASHER

SN: 36537-UP

8шт.

19

09470-06425

BRACKET

SN: 36537-UP

2шт.

20

01016-31450

BOLT

SN: 36537-UP

4шт.

21

01580-01411

NUT

SN: 36537-UP

4шт.

22

01010-61860

BOLT

SN: 36537-UP

4шт.

23

01643-31845

WASHER

SN: 36537-UP

8шт.

24

01010-61850

BOLT

SN: 36537-UP

4шт.

Выбрано товаров: 25