Запчасти Komatsu D85A-21B ГУСЕНИЦЫ (СО СЦЕПНЫМ ПАЛЬЦЕМ) (ОДИНОЧН. ГРУНТОЗАЦЕП) (УСИЛ.) (MM ШИР.) ГУСЕНИЦЫ

Схема запчастей Komatsu D85A-21B - ГУСЕНИЦЫ (СО СЦЕПНЫМ ПАЛЬЦЕМ) (ОДИНОЧН. ГРУНТОЗАЦЕП) (УСИЛ.) (MM ШИР.) ГУСЕНИЦЫ
FIT
1:1
100%

Артикул

Название

Примечание

Количество

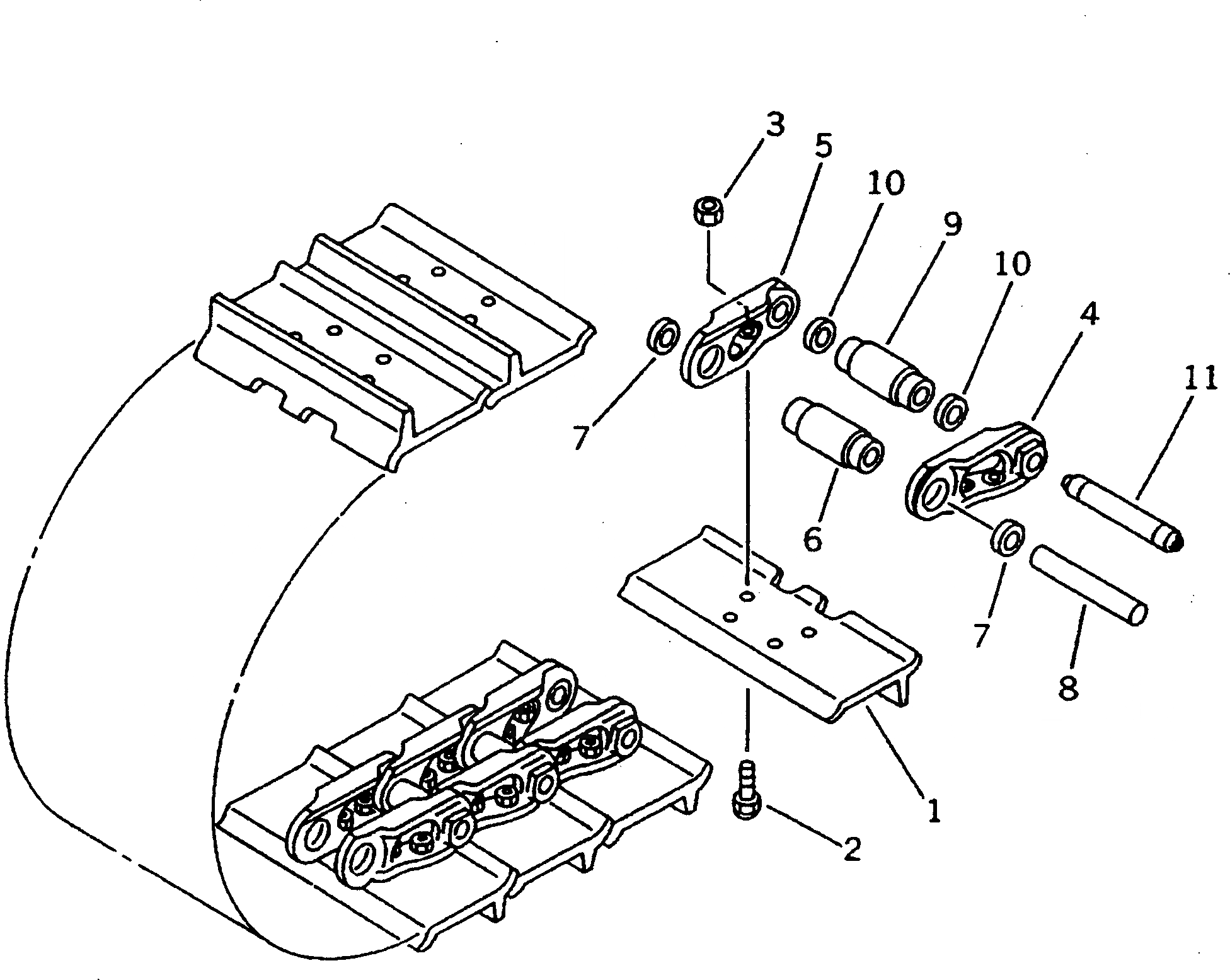
|$$1

560MM WIDE

-1шт.

|$1

154-32-03610

TRACK SHOE ASS'Y

SN: 36537-UP

1шт.

1

154-32-11550

SHOE,TRACK

SN: 36537-UP

76шт.

2

154-32-31211

BOLT, SHOE (KIT)

SN: 36537-UP

304шт.

3

154-32-31220

NUT, SHOE (KIT)

SN: 36537-UP

304шт.

|$5

154-32-00114

TRACK LINK ASS'Y

SN: 36537-UP

1шт.

4

154-32-11127

LINK,TRACK, L.H.

SN: 36537-UP

76шт.

5

154-32-11137

LINK,TRACK, R.H.

SN: 36537-UP

76шт.

6

154-32-31141

BUSHING,REGULAR

SN: 36537-UP

72шт.

7

154-32-11283

SEAL,DUST, REGULAR, W-TYPE

SN: 36537-UP

144шт.

8

154-820-1153

PIN

SN: 36537-UP

72шт.

9

154-32-31171

BUSHING,MASTER

SN: 36537-UP

4шт.

10

154-32-11260

SEAL,DUST, MASTER, E-TYPE

SN: 36537-UP

8шт.

11

154-820-1192

PIN

SN: 36537-UP

4шт.

|$$15

OVERSIZE PARTS

-1шт.

|$$16

0.10MM OVERSIZE

-1шт.

6

154-98-09411

BUSHING, REGULAR

SN: 36537-UP

-2шт.

8

154-98-09212

PIN, REGULAR

SN: 36537-UP

-2шт.

9

154-98-09441

BUSHING, MASTER

SN: 36537-UP

-2шт.

11

154-98-09242

PIN, MASTER

SN: 36537-UP

-2шт.

|$$21

0.18MM OVERSIZE

-1шт.

6

154-98-09431

BUSHING, REGULAR

SN: 36537-UP

-2шт.

8

154-98-09232

PIN, REGULAR

SN: 36537-UP

-2шт.

9

154-98-09461

BUSHING, MASTER

SN: 36537-UP

-2шт.

11

154-98-09262

PIN, MASTER

SN: 36537-UP

-2шт.

|$$26

SELECT AS REQUIRED NOT NECESSARY TO USE ALL OF THE OVERSIZE PARTS.

-1шт.

Выбрано товаров: 26