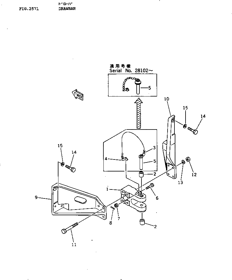
Запчасти Komatsu D85E-18 СЦЕПНОЕ УСТРОЙСТВО ЧАСТИ КОРПУСА

Схема запчастей Komatsu D85E-18 - СЦЕПНОЕ УСТРОЙСТВО ЧАСТИ КОРПУСА
FIT
1:1
100%

Артикул

Название

Примечание

Количество

|$0

150-74-00033

DRAWBAR ASS'Y

SN: 25001-UP

1шт.

1

175-69-21212

DRAWBAR

SN: 25001-UP

1шт.

2

150-74-11350

BUSHING

SN: 25001-UP

2шт.

3

09245-24842

CHAIN

SN: 25001-28101

1шт.

4

09249-10016

LATCH

SN: 25001-28101

1шт.

4

09245-50060

HOOK (WELDED)

SN: 25001-28101

1шт.

5

154-69-11341

PIN ASS'Y

SN: 28102-UP

1шт.

5

0

PIN

SN: 25001-28101

1шт.

6

01052-51675

BOLT

SN: 25001-UP

1шт.

7

01592-11619

NUT

SN: 25001-UP

1шт.

8

04050-14030

PIN,COTTER

SN: 25001-UP

1шт.

9

150-74-11122

BRACKET

SN: 25001-UP

1шт.

10

150-74-11112

BRACKET

SN: 25001-UP

1шт.

11

150-74-11140

BOLT

SN: 25001-UP

4шт.

12

01580-13326

NUT

SN: 25001-UP

4шт.

13

01643-33380

WASHER

SN: 26432-UP

4шт.

13

0

WASHER,SPRING

SN: 25001-26431

4шт.

14

01010-83385

BOLT

SN: 25001-UP

6шт.

15

01643-33380

WASHER

SN: 27684-UP

6шт.

15

0

WASHER,SPRING

SN: 25001-27683

6шт.

Выбрано товаров: 20