Запчасти Komatsu D85E-18 ПОДЪЕМ. ОТВАЛА И НАКЛОН. УПРАВЛЯЮЩ. КЛАПАН (/)(№-) УПРАВЛ-Е РАБОЧИМ ОБОРУДОВАНИЕМ

Схема запчастей Komatsu D85E-18 - ПОДЪЕМ. ОТВАЛА И НАКЛОН. УПРАВЛЯЮЩ. КЛАПАН (/)(№-) УПРАВЛ-Е РАБОЧИМ ОБОРУДОВАНИЕМ
FIT
1:1
100%

Артикул

Название

Примечание

Количество

|$0

154-60-52003

HYDRAULIC TANK ASS'Y

SN: 26002-UP

1шт.

|$1

0

HYDRAULIC TANK ASS'Y

SN: 26001-26001

1шт.

|$$3

THESE ASSEMBLIES CONSIST OF ALL PARTS SHOWN IN FIGS.2611 TO 2626.

-1шт.

|$3

701-34-11002

CONTROL VALVE A.,BLADE

SN: 26002-UP

1шт.

|$4

0

CONTROL VALVE A.,BLADE

SN: 26001-26001

1шт.

|$$6

THESE ASSEMBLIES CONSIST OF ALL PARTS SHOWN IN FIGS.2621A AND 2622A.

-1шт.

|$6

701-33-48001

CONTROL VALVE A.

SN: 26002-UP

1шт.

|$7

0

CONTROL VALVE A.

SN: 26001-26001

1шт.

|$8

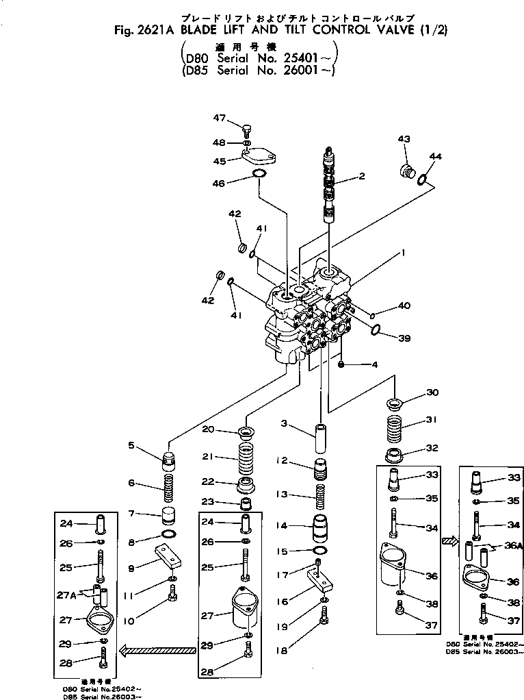
701-33-00051

BODY ASS'Y

SN: 26001-UP

1шт.

1

0

BODY

SN: 26001-UP

1шт.

2

0

SPOOL

SN: 26001-UP

2шт.

3

0

COLLAR

SN: 26001-UP

1шт.

4

07043-00415

PLUG

SN: 25001-UP

2шт.

5

701-33-31120

VALVE

SN: 25001-UP

1шт.

6

701-33-31130

SPRING

SN: 25001-UP

1шт.

7

701-33-31150

SEAT

SN: 25001-UP

1шт.

8

07000-13035

O-RING

SN: 25001-UP

1шт.

9

701-33-31160

PLATE

SN: 25001-UP

1шт.

10

01010-31235

BOLT

SN: 25001-UP

2шт.

11

01602-01236

WASHER,SPRING

SN: 25001-UP

2шт.

12

701-21-33130

VALVE

SN: 25001-UP

1шт.

13

701-21-33140

SPRING

SN: 25001-UP

1шт.

14

701-33-46330

SEAT

SN: 26001-UP

1шт.

15

07000-12018

O-RING

SN: 26001-UP

1шт.

16

701-33-32160

PLATE

SN: 26001-UP

1шт.

17

04020-00514

PIN

SN: 26001-UP

1шт.

18

01010-31240

BOLT

SN: 26001-UP

2шт.

19

01602-01236

WASHER,SPRING

SN: 26001-UP

2шт.

20

701-33-31380

RETAINER

SN: 25001-UP

1шт.

21

701-33-31191

SPRING

SN: 26003-UP

1шт.

21

0

SPRING

SN: 25001-26002

1шт.

22

701-33-31380

RETAINER

SN: 26003-UP

1шт.

22

701-33-31390

RETAINER

SN: 25001-26002

1шт.

23

701-33-46280

COLLAR

SN: 25001-26002

1шт.

24

701-33-46171

COLLAR

SN: 26003-UP

1шт.

24

701-33-46170

COLLAR

SN: 25001-26002

1шт.

25

01010-31280

BOLT

SN: 26003-UP

1шт.

25

01010-31285

BOLT

SN: 25001-26002

1шт.

26

01602-01236

WASHER

SN: 25001-UP

1шт.

27

701-33-46340

PLATE

SN: 26003-UP

1шт.

27

701-33-46190

CASE

SN: 25001-26002

1шт.

27A

701-33-46350

COLLAR

SN: 26003-UP

2шт.

28

01010-31095

BOLT

SN: 26003-UP

1шт.

28

01010-31030

BOLT

SN: 25001-26002

2шт.

29

01602-01030

WASHER

SN: 25001-UP

2шт.

30

701-33-31380

RETAINER

SN: 25001-UP

1шт.

31

701-33-31191

SPRING

SN: 26003-UP

1шт.

31

0

SPRING

SN: 25001-26002

1шт.

32

701-33-31380

RETAINER

SN: 26003-UP

1шт.

32

701-33-31390

RETAINER

SN: 25001-26002

1шт.

33

701-33-46171

COLLAR

SN: 26003-UP

1шт.

33

701-33-46180

COLLAR

SN: 25001-26002

1шт.

34

01010-31280

BOLT

SN: 25001-UP

1шт.

35

01602-01236

WASHER,SPRING

SN: 25001-UP

1шт.

36

701-33-46340

PLATE

SN: 26003-UP

1шт.

36

701-33-46190

CASE

SN: 25001-26002

1шт.

36A

701-33-46350

COLLAR

SN: 25001-UP

2шт.

37

01010-31095

BOLT

SN: 26003-UP

2шт.

37

01010-31030

BOLT

SN: 25001-26002

2шт.

38

01602-01030

WASHER,SPRING

SN: 25001-UP

2шт.

39

07000-13045

O-RING

SN: 25001-UP

5шт.

40

07000-02015

O-RING

SN: 25001-UP

23шт.

41

07000-13035

O-RING

SN: 25001-UP

4шт.

42

701-40-61180

RING,BACK-UP

SN: 25001-UP

4шт.

43

07040-13016

PLUG

SN: 25001-UP

2шт.

44

07002-13034

O-RING

SN: 25001-UP

2шт.

45

701-33-31360

PLATE

SN: 25001-UP

1шт.

46

07000-13040

O-RING

SN: 25001-UP

1шт.

47

01010-31440

BOLT

SN: 25001-UP

2шт.

48

01602-01442

WASHER,SPRING

SN: 25001-UP

2шт.

Выбрано товаров: 70