Запчасти Komatsu D85E-18 КРЕПЛЕНИЕ РАДИАТОРА(№8-) КОМПОНЕНТЫ ДВИГАТЕЛЯ И ЭЛЕКТРИКА

Схема запчастей Komatsu D85E-18 - КРЕПЛЕНИЕ РАДИАТОРА(№8-) КОМПОНЕНТЫ ДВИГАТЕЛЯ И ЭЛЕКТРИКА
FIT
1:1
100%

Артикул

Название

Примечание

Количество

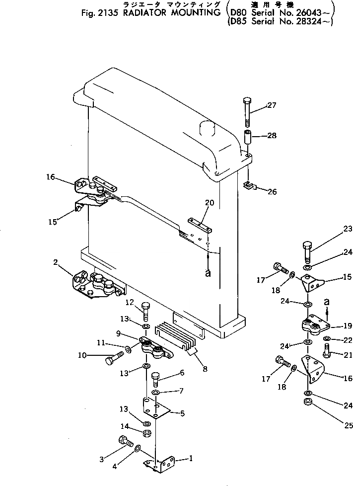
1

154-03-11963

BRACKET,L.H.

SN: 28324-UP

1шт.

2

154-03-11973

BRACKET,R.H.

SN: 28324-UP

1шт.

3

01010-51230

BOLT

SN: 28324-UP

6шт.

4

01643-31232

WASHER

SN: 28324-UP

6шт.

5

154-03-13250

PLATE

SN: 28324-UP

2шт.

6

0101-51435

BOLT

SN: 28324-UP

4шт.

7

01643-31445

WASHER

SN: 28324-UP

4шт.

8

195-03-22270

SHIM, 1.0MM

SN: 28324-UP

12шт.

9

195-03-22501

ISOLATOR ASS'Y

SN: 30302-UP

2шт.

9

0

ISOLATOR ASS'Y

SN: 26043-30301

2шт.

10

01010-51245

BOLT

SN: 28324-UP

4шт.

11

01643-31232

WASHER

SN: 28324-UP

4шт.

12

01091-52205

BOLT

SN: 28324-UP

4шт.

13

01643-32260

WASHER

SN: 28324-UP

12шт.

14

01582-12218

NUT

SN: 28324-UP

4шт.

15

154-03-13160

BRACKET

SN: 28324-UP

2шт.

16

154-03-13170

BRACKET

SN: 28324-UP

2шт.

17

01010-51230

BOLT

SN: 28324-UP

8шт.

18

01643-31232

WASHER

SN: 28324-UP

8шт.

19

195-03-22401

ISOLATOR ASS'Y

SN: 30302-UP

2шт.

19

0

ISOLATOR ASS'Y

SN: 26043-30301

2шт.

20

198-03-21530

PLATE

SN: 28324-UP

2шт.

21

01010-51075

BOLT

SN: 28324-UP

6шт.

22

01643-31032

WASHER

SN: 28324-UP

6шт.

23

01091-52220

BOLT

SN: 28324-UP

4шт.

24

01643-32260

WASHER

SN: 28324-UP

16шт.

25

01582-12218

NUT

SN: 28324-UP

4шт.

26

154-03-11611

SHIM, 0.6MM

SN: 28324-UP

5шт.

27

01011-51640

BOLT

SN: 28324-UP

4шт.

28

154-03-13240

COLLAR

SN: 28324-UP

4шт.

Выбрано товаров: 0