Запчасти Komatsu D85E-18 РЫЧАГ УПРАВЛЕНИЯ ПОВОРОТОМ СИСТЕМАУПРАВЛЕНИЯ ПОВОРОТОМ И КОНЕЧНАЯ ПЕРЕДАЧА

Схема запчастей Komatsu D85E-18 - РЫЧАГ УПРАВЛЕНИЯ ПОВОРОТОМ СИСТЕМАУПРАВЛЕНИЯ ПОВОРОТОМ И КОНЕЧНАЯ ПЕРЕДАЧА
FIT
1:1
100%

Артикул

Название

Примечание

Количество

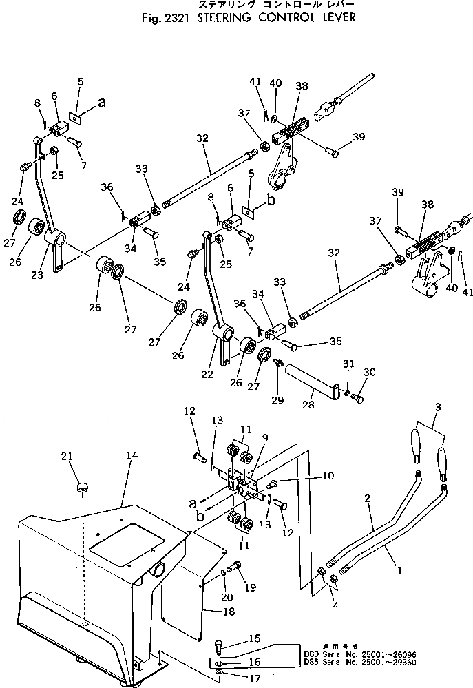
1

154-43-15192

LEVER,L.H.

SN: 25001-UP

1шт.

2

154-43-15212

LEVER,R.H.

SN: 25001-UP

1шт.

3

09305-11400

KNOB

SN: 25001-UP

2шт.

4

01582-11613

NUT

SN: 25001-UP

2шт.

5

154-43-15780

LOCK

SN: 25001-UP

2шт.

6

175-43-11311

YOKE

SN: 25001-UP

2шт.

7

175-43-31470

PIN

SN: 25001-UP

2шт.

8

04050-13015

PIN,COTTER

SN: 25001-UP

2шт.

9

154-43-15150

BRACKET

SN: 25001-UP

1шт.

10

01220-40820

SCREW

SN: 25001-UP

4шт.

11

09365-00826

ROLLER

SN: 25001-UP

4шт.

12

09365-00840

PIN

SN: 25001-UP

4шт.

13

04050-12012

PIN

SN: 25001-UP

4шт.

14

154-43-15112

BRACKET

SN: 25001-UP

1шт.

14

154-43-16110

BRACKET,(WITH TACHOMETER)

SN: 31564-31567

1шт.

15

01010-51440

BOLT

SN: 25001-UP

6шт.

16

01602-21442

WASHER,SPRING

SN: 25001-29360

6шт.

17

01643-31445

WASHER

SN: 25001-UP

6шт.

18

154-43-15131

COVER

SN: 25001-UP

1шт.

19

01010-50816

BOLT

SN: 25001-UP

6шт.

20

01602-20825

WASHER,SPRING

SN: 25001-UP

6шт.

21

09415-02512

CAP

SN: 25001-UP

1шт.

22

154-43-15221

LEVER,L.H.

SN: 25001-UP

1шт.

23

154-43-15231

LEVER,R.H.

SN: 25001-UP

1шт.

24

09311-31237

BUMPER

SN: 25001-UP

2шт.

25

01580-11210

NUT

SN: 25001-UP

2шт.

26

06120-03520

BEARING

SN: 25001-UP

4шт.

27

06122-03504

SEAL

SN: 25001-UP

4шт.

28

154-43-15460

SHAFT

SN: 25001-UP

1шт.

29

07020-00675

FITTING,GREASE

SN: 25001-UP

1шт.

30

01010-51020

BOLT

SN: 25001-UP

1шт.

31

01602-21030

WASHER,SPRING

SN: 25001-UP

1шт.

32

04248-31433

ROD

SN: 25001-UP

2шт.

33

01582-11411

NUT

SN: 25001-UP

2шт.

34

04221-21478

YOKE

SN: 25001-UP

2шт.

35

04205-01438

PIN

SN: 25001-UP

2шт.

36

04050-14022

PIN

SN: 25001-UP

2шт.

37

01508-21408

NUT

SN: 25001-UP

2шт.

38

154-43-15431

YOKE

SN: 25001-UP

2шт.

39

04205-11440

PIN

SN: 25001-UP

2шт.

40

01641-21423

WASHER

SN: 25001-UP

2шт.

41

04050-14022

PIN,COTTER

SN: 25001-UP

2шт.

Выбрано товаров: 42