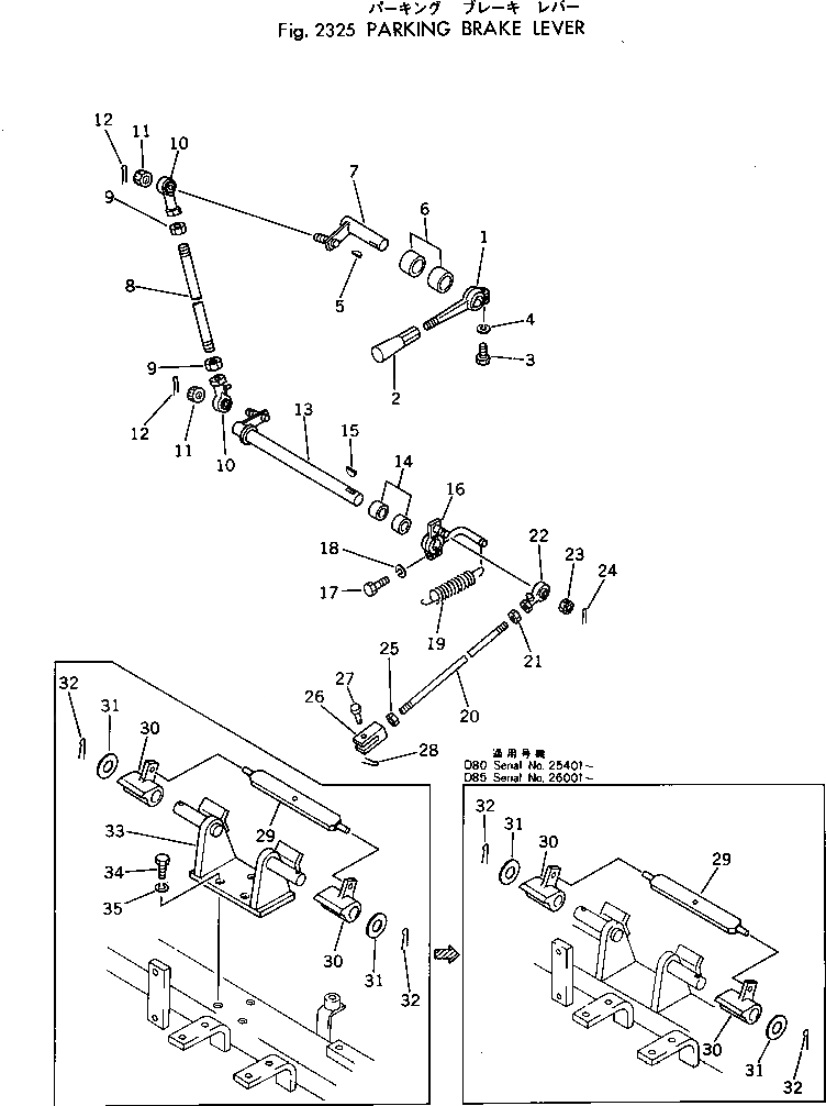
Запчасти Komatsu D85E-18 РЫЧАГ СТОЯНОЧНОГО ТОРМОЗА СИСТЕМАУПРАВЛЕНИЯ ПОВОРОТОМ И КОНЕЧНАЯ ПЕРЕДАЧА

Схема запчастей Komatsu D85E-18 - РЫЧАГ СТОЯНОЧНОГО ТОРМОЗА СИСТЕМАУПРАВЛЕНИЯ ПОВОРОТОМ И КОНЕЧНАЯ ПЕРЕДАЧА
FIT
1:1
100%

Артикул

Название

Примечание

Количество

1

154-43-15940

LEVER

SN: 25001-UP

1шт.

2

09305-00800

KNOB

SN: 25001-UP

1шт.

3

01010-50830

BOLT

SN: 25001-UP

1шт.

4

01602-20825

WASHER,SPRING

SN: 25001-UP

1шт.

5

04010-00519

KEY

SN: 25001-UP

1шт.

6

09350-01615

BUSHING

SN: 30167-UP

2шт.

6

0

BUSHING

SN: 25001-30166

2шт.

7

154-43-15890

LEVER

SN: 25001-UP

1шт.

8

04245-41035

ROD

SN: 25001-UP

1шт.

9

01582-11008

NUT

SN: 25001-UP

2шт.

10

04250-51056

END,ROD

SN: 25001-UP

2шт.

11

01593-11008

NUT

SN: 25001-UP

2шт.

12

04050-12018

PIN,COTTER

SN: 25001-UP

2шт.

13

154-43-15920

LEVER

SN: 25001-UP

1шт.

14

195-43-12640

BUSHING

SN: 25001-UP

2шт.

15

04010-00519

KEY

SN: 25001-UP

1шт.

16

154-43-15910

LEVER

SN: 25001-UP

1шт.

17

01010-50830

BOLT

SN: 25001-UP

1шт.

18

01602-20825

WASHER,SPRING

SN: 25001-UP

1шт.

19

103-33-11260

SPRING

SN: 25001-UP

1шт.

20

04245-41034

ROD

SN: 30166-UP

1шт.

20

0

ROD

SN: 25001-30165

1шт.

21

01582-11008

NUT

SN: 25001-UP

1шт.

22

04250-51056

END,ROD

SN: 25001-UP

1шт.

23

01593-11008

NUT

SN: 25001-UP

1шт.

24

04050-12018

PIN,COTTER

SN: 25001-UP

1шт.

25

01582-11008

NUT

SN: 25001-UP

1шт.

26

04210-21040

YOKE

SN: 25001-UP

1шт.

27

04205-11028

PIN

SN: 25001-UP

1шт.

28

04050-13015

PIN,COTTER

SN: 25001-UP

1шт.

29

154-43-15651

BAR

SN: 25001-UP

1шт.

30

154-43-15642

BOWL

SN: 25001-UP

2шт.

31

01640-22032

WASHER

SN: 25001-UP

2шт.

32

04050-14030

PIN,COTTER

SN: 25001-UP

2шт.

33

154-43-15490

BRACKET

SN: 25001-26000

1шт.

34

01010-51230

BOLT

SN: 25001-26000

3шт.

35

01602-21236

WASHER,SPRING

SN: 25001-26000

3шт.

Выбрано товаров: 37