Запчасти Komatsu D85E-18 РАДИАТОР(№8-) КОМПОНЕНТЫ ДВИГАТЕЛЯ И ЭЛЕКТРИКА

Схема запчастей Komatsu D85E-18 - РАДИАТОР(№8-) КОМПОНЕНТЫ ДВИГАТЕЛЯ И ЭЛЕКТРИКА
FIT
1:1
100%

Артикул

Название

Примечание

Количество

|$0

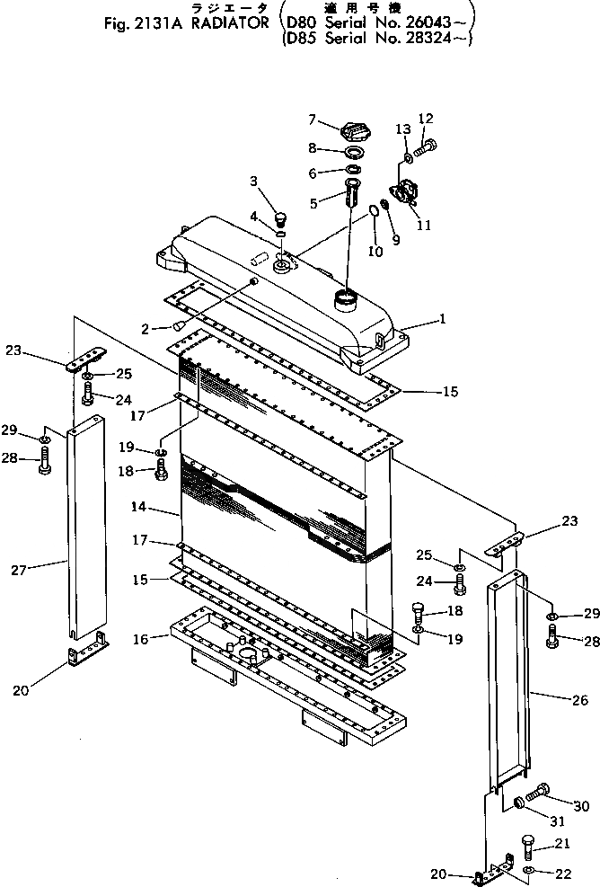
154-03-00080

RADIATOR CORE ASS'Y

SN: 28324-UP

1шт.

|$1

154-03-00090

UPPER TANK ASS'Y

SN: 28324-UP

1шт.

1

154-03-11117

TANK,UPPER

SN: 28324-UP

1шт.

2

07049-01012

PLUG

SN: 28324-UP

1шт.

3

07040-13618

PLUG

SN: 28324-UP

1шт.

4

07002-43634

O-RING

SN: 28324-UP

1шт.

5

07056-00048

STRAINER

SN: 25001-UP

1шт.

6

07057-03271

RING

SN: 25001-UP

1шт.

7

07053-10000

CAP

SN: 25001-UP

1шт.

8

07053-00002

GASKET

SN: 25001-UP

1шт.

9

175-03-32570

SCREEN

SN: 25001-UP

1шт.

10

07000-43045

O-RING

SN: 28324-UP

1шт.

11

154-03-11682

VALVE

SN: 25001-UP

1шт.

12

01010-51025

BOLT

SN: 25001-UP

2шт.

13

01602-21030

WASHER,SPRING

SN: 25001-UP

2шт.

14

154-03-21132

CORE

SN: 28324-UP

1шт.

15

154-03-11143

GASKET

SN: 25001-UP

2шт.

16

154-03-21123

TANK,LOWER

SN: 28324-UP

1шт.

17

154-03-11151

PLATE

SN: 25001-UP

4шт.

18

01010-51030

BOLT

SN: 28324-UP

80шт.

19

01602-21030

WASHER,SPRING

SN: 25001-UP

80шт.

20

154-03-13150

PLATE

SN: 28324-UP

2шт.

21

01010-51235

BOLT

SN: 28324-UP

8шт.

22

01602-21236

WASHER

SN: 28324-UP

8шт.

23

154-03-13140

PLATE

SN: 28324-UP

2шт.

24

01010-51235

BOLT

SN: 28324-UP

4шт.

25

01602-21236

WASHER,SPRING

SN: 28324-UP

4шт.

26

154-03-12823

PLATE

SN: 28324-UP

1шт.

27

154-03-12842

PLATE

SN: 28324-UP

1шт.

28

01010-51250

BOLT

SN: 28324-UP

4шт.

29

01602-21236

WASHER,SPRING

SN: 28324-UP

4шт.

30

01010-51030

BOLT

SN: 28324-UP

4шт.

31

195-03-22160

SEAT

SN: 28324-UP

4шт.

Выбрано товаров: 33