Запчасти Komatsu D85E-21 ОБОГРЕВАТЕЛЬ.(№-) ЧАСТИ КОРПУСА

Схема запчастей Komatsu D85E-21 - ОБОГРЕВАТЕЛЬ.(№-) ЧАСТИ КОРПУСА
FIT
1:1
100%

Артикул

Название

Примечание

Количество

G-1

0

HEATER UNIT GROUP

SN: 35001-UP

-1шт.

|$$2

====================

-1шт.

1

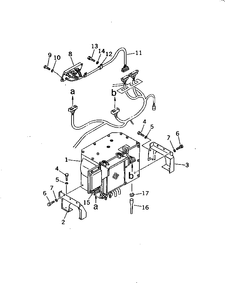
195-Z11-7402

HEATER ASS'Y

SN: 35718-UP

1шт.

1

0

HEATER ASS'Y

SN: 35001-35717

1шт.

2

154-Z11-5250

BRACKET

SN: 35001-UP

1шт.

3

154-Z11-5260

BRACKET

SN: 35001-UP

1шт.

4

01010-51225

BOLT

SN: 35001-UP

5шт.

5

01643-31232

WASHER

SN: 35001-UP

5шт.

6

01010-51225

BOLT

SN: 35001-UP

6шт.

7

01643-31232

WASHER

SN: 35001-UP

6шт.

|$$11

====================

-1шт.

G-2

0

CONTROL PANEL GROUP

SN: 35001-UP

1шт.

|$$13

====================

-1шт.

8

195-Z11-7310

CONTROL PANEL ASS'Y

SN: 35001-UP

1шт.

9

01220-40616

SCREW

SN: 35001-UP

4шт.

10

01602-20619

WASHER,SPRING

SN: 35001-UP

4шт.

11

195-Z11-5351

WIRE ASS'Y

SN: 36492-UP

1шт.

11

195-Z11-5350

WIRE ASS'Y

SN: 35001-36491

1шт.

12

08036-01814

CLIP

SN: 36492-UP

1шт.

12

08035-02508

CLIP

SN: 35001-36491

1шт.

13

01010-51220

BOLT

SN: 35001-UP

1шт.

14

01643-31232

WASHER

SN: 35001-UP

1шт.

|$$23

====================

-1шт.

15

195-Z11-5360

CLIP

SN: 35001-UP

1шт.

16

425-963-1190

HOSE

SN: 35963-UP

2шт.

17

195-Z11-7270

CLAMP

SN: 35963-UP

2шт.

Выбрано товаров: 26