Запчасти Komatsu D85E-21 ГУСЕНИЦЫ (СО СЦЕПНЫМ ПАЛЬЦЕМ) (ОДИНОЧН. ГРУНТОЗАЦЕП) (УСИЛ.)(№-) ГУСЕНИЦЫ

Схема запчастей Komatsu D85E-21 - ГУСЕНИЦЫ (СО СЦЕПНЫМ ПАЛЬЦЕМ) (ОДИНОЧН. ГРУНТОЗАЦЕП) (УСИЛ.)(№-) ГУСЕНИЦЫ
FIT
1:1
100%

Артикул

Название

Примечание

Количество

|$$1

560MM WIDE

-1шт.

|$1

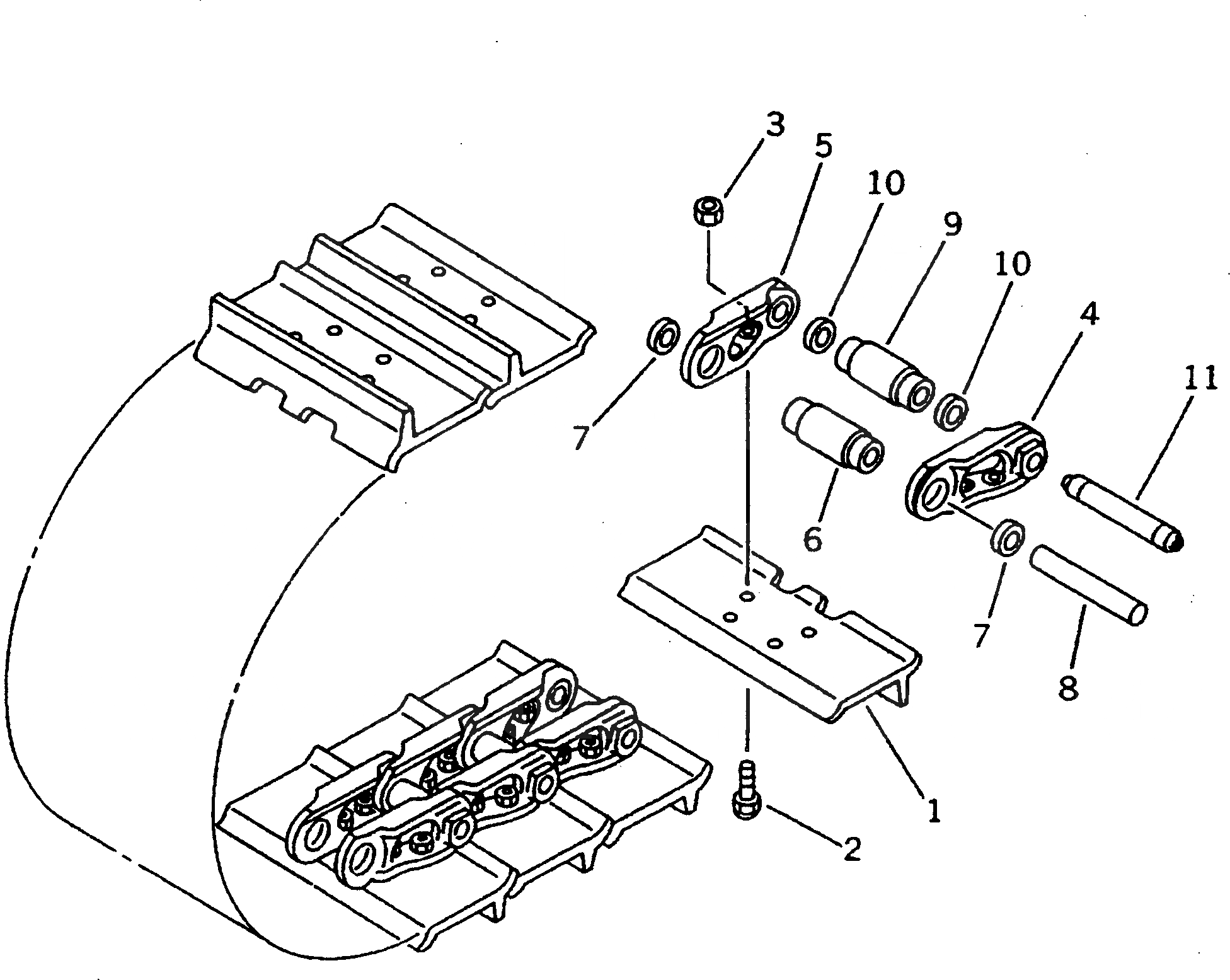
154-32-02321

TRACK SHOE ASS'Y

SN: 36041-36326

1шт.

|$2

0

TRACK SHOE ASS'Y

SN: 35001-36040

1шт.

1

154-32-11550

SHOE,TRACK

SN: 35001-36326

82шт.

2

154-32-31211

BOLT, SHOE (KIT)

SN: 36041-36326

328шт.

2

154-32-31230

BOLT, SHOE (KIT)

SN: 35001-36040

328шт.

3

154-32-31220

NUT, SHOE (KIT)

SN: 35001-36326

328шт.

|$7

154-32-00430

TRACK LINK ASS'Y

SN: 35001-36326

1шт.

4

154-32-31120

LINK,TRACK, L.H.

SN: 35001-36326

82шт.

5

154-32-31130

LINK,TRACK, R.H.

SN: 35001-36326

82шт.

6

154-32-31141

BUSHING,REGULAR

SN: 35001-36326

78шт.

7

154-32-11283

SEAL,DUST, REGULAR, W-TYPE

SN: 35001-36326

156шт.

8

154-820-1153

PIN

SN: 35001-36326

78шт.

9

154-32-31171

BUSHING,MASTER

SN: 35001-36326

4шт.

10

154-32-11260

SEAL,DUST, MASTER, E-TYPE

SN: 35001-36326

8шт.

11

154-820-1192

PIN

SN: 35001-36326

4шт.

|$$17

610MM WIDE

-1шт.

1

154-32-02341

TRACK SHOE ASS'Y

SN: 36041-36326

1шт.

1

0

TRACK SHOE ASS'Y

SN: 35001-36040

1шт.

1

154-32-11590

SHOE

SN: 35001-36326

82шт.

2

154-32-31211

BOLT, SHOE (KIT)

SN: 36041-36326

328шт.

2

154-32-31230

BOLT, SHOE (KIT)

SN: 35001-36040

328шт.

3

154-32-31220

NUT, SHOE (KIT)

SN: 35001-36326

328шт.

4

154-32-00430

TRACK LINK ASS'Y

SN: 35001-36326

1шт.

|$$25

660MM WIDE

-1шт.

1

154-32-02351

TRACK SHOE ASS'Y

SN: 36041-36326

1шт.

1

0

TRACK SHOE ASS'Y

SN: 35001-36040

1шт.

1

154-32-11660

SHOE

SN: 35001-36326

82шт.

2

154-32-31211

BOLT, SHOE (KIT)

SN: 36041-36326

328шт.

2

154-32-31230

BOLT, SHOE (KIT)

SN: 35001-36040

328шт.

3

154-32-31220

NUT, SHOE (KIT)

SN: 35001-36326

328шт.

4

154-32-00430

TRACK LINK ASS'Y

SN: 35001-36326

1шт.

|$$33

SERVICE KIT

-1шт.

1

154-32-05021

SHOE BOLT AND NUT K.

SN: 36041-36326

1шт.

1

0

SHOE BOLT AND NUT K.

SN: 35001-36040

1шт.

2

154-32-31211

BOLT, SHOE

SN: 36041-36326

30шт.

2

154-32-31230

BOLT, SHOE

SN: 35001-36040

30шт.

3

154-32-31220

NUT, SHOE

SN: 35001-36326

30шт.

|$$39

OVERSIZE PARTS

-1шт.

|$$40

0.10MM OVERSIZE

-1шт.

6

154-98-09411

BUSHING, REGULAR

SN: 35001-36326

-2шт.

8

154-98-09212

PIN, REGULAR

SN: 35001-36326

-2шт.

9

154-98-09441

BUSHING, MASTER

SN: 35001-36326

-2шт.

11

154-98-09242

PIN, MASTER

SN: 35001-36326

-2шт.

|$$45

0.18MM OVERSIZE

-1шт.

6

154-98-09431

BUSHING, REGULAR

SN: 35001-36326

-2шт.

8

154-98-09232

PIN, REGULAR

SN: 35001-36326

-2шт.

9

154-98-09461

BUSHING, MASTER

SN: 35001-36326

-2шт.

11

154-98-09262

PIN, MASTER

SN: 35001-36326

-2шт.

Выбрано товаров: 49