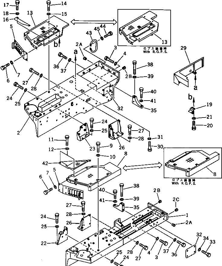
Запчасти Komatsu D85E-21 КРЫЛО(№-7) ЧАСТИ КОРПУСА

Схема запчастей Komatsu D85E-21 - КРЫЛО(№-7) ЧАСТИ КОРПУСА
FIT
1:1
100%

Артикул

Название

Примечание

Количество

1

154-54-41730

FENDER,L.H.

SN: 35001-35476

1шт.

2

154-54-41740

FENDER,R.H.

SN: 35001-35476

1шт.

2A

07049-01620

PLUG

SN: 35001-@

8шт.

2B

07049-02430

PLUG

SN: 35001-@

6шт.

2C

07049-01822

PLUG

SN: 35001-@

4шт.

3

01010-52050

BOLT

SN: 35001-@

14шт.

4

01643-32060

WASHER

SN: 35001-@

14шт.

5

154-54-41952

COVER

SN: 35001-35476

2шт.

6

195-54-43210

BOLT

SN: 35001-35476

12шт.

7

198-54-42280

WASHER

SN: 35001-35476

12шт.

8

154-54-42250

COVER,L.H. (WITHOUT ROPS)

SN: 35001-35476

1шт.

8

154-54-42270

COVER,L.H. (WITH ROPS)

SN: 35001-35476

1шт.

9

01011-51210

BOLT

SN: 35001-@

6шт.

10

01643-31232

WASHER

SN: 35001-@

6шт.

11

01010-51225

BOLT

SN: 35001-@

2шт.

12

01643-31232

WASHER

SN: 35001-@

2шт.

13

154-54-41921

COVER,R.H. (WITHOUT ROPS)

SN: 35001-35476

1шт.

13

154-54-42280

COVER,R.H. (WITH ROPS)

SN: 35001-35476

1шт.

14

01011-51210

BOLT

SN: 35001-@

6шт.

15

01643-31232

WASHER

SN: 35001-@

6шт.

16

154-54-41942

PLATE

SN: 35001-@

1шт.

17

01010-51225

BOLT

SN: 35001-@

2шт.

18

01643-31232

WASHER

SN: 35001-@

2шт.

19

195-54-42300

BRACKET ASS'Y

SN: 35001-35476

1шт.

20

01010-51020

BOLT

SN: 35001-35476

2шт.

21

01643-31032

WASHER

SN: 35001-35476

2шт.

22

154-54-41860

BRACKET,L.H.

SN: 35001-@

1шт.

23

154-54-41850

BRACKET,R.H.

SN: 35001-@

1шт.

24

01010-51640

BOLT

SN: 35001-@

16шт.

25

01643-31645

WASHER

SN: 35001-@

16шт.

26

154-54-42210

BRACKET

SN: 35001-@

2шт.

27

01010-51640

BOLT

SN: 35001-@

14шт.

28

01643-31645

WASHER

SN: 35001-@

14шт.

29

154-54-41931

COVER

SN: 35001-@

1шт.

30

01010-51230

BOLT

SN: 35001-@

4шт.

31

01643-31232

WASHER

SN: 35001-@

4шт.

32

175-54-22420

COVER

SN: 35001-@

2шт.

33

01010-51235

BOLT

SN: 35001-@

8шт.

34

01643-31232

WASHER

SN: 35001-@

8шт.

35

154-54-11970

BRACKET

SN: 35001-@

2шт.

36

01010-51635

BOLT

SN: 35001-@

4шт.

37

01643-31645

WASHER

SN: 35001-@

4шт.

38

01011-51690

BOLT

SN: 35001-@

2шт.

39

01643-51645

WASHER

SN: 35001-@

2шт.

40

01010-51655

BOLT

SN: 35001-@

2шт.

41

01643-31645

WASHER

SN: 35001-@

2шт.

42

154-54-42260

COVER

SN: 35001-@

1шт.

43

154-54-22990

HANDLE

SN: 35001-@

1шт.

44

01010-51850

BOLT

SN: 35001-@

2шт.

45

01643-31845

WASHER

SN: 35001-@

2шт.

Выбрано товаров: 50