Запчасти Komatsu D85E-21 НАВЕС КАБИНА ОПЕРАТОРА И СИСТЕМА УПРАВЛЕНИЯ

Схема запчастей Komatsu D85E-21 - НАВЕС КАБИНА ОПЕРАТОРА И СИСТЕМА УПРАВЛЕНИЯ
FIT
1:1
100%

Артикул

Название

Примечание

Количество

|$$1

====================

-1шт.

|$2

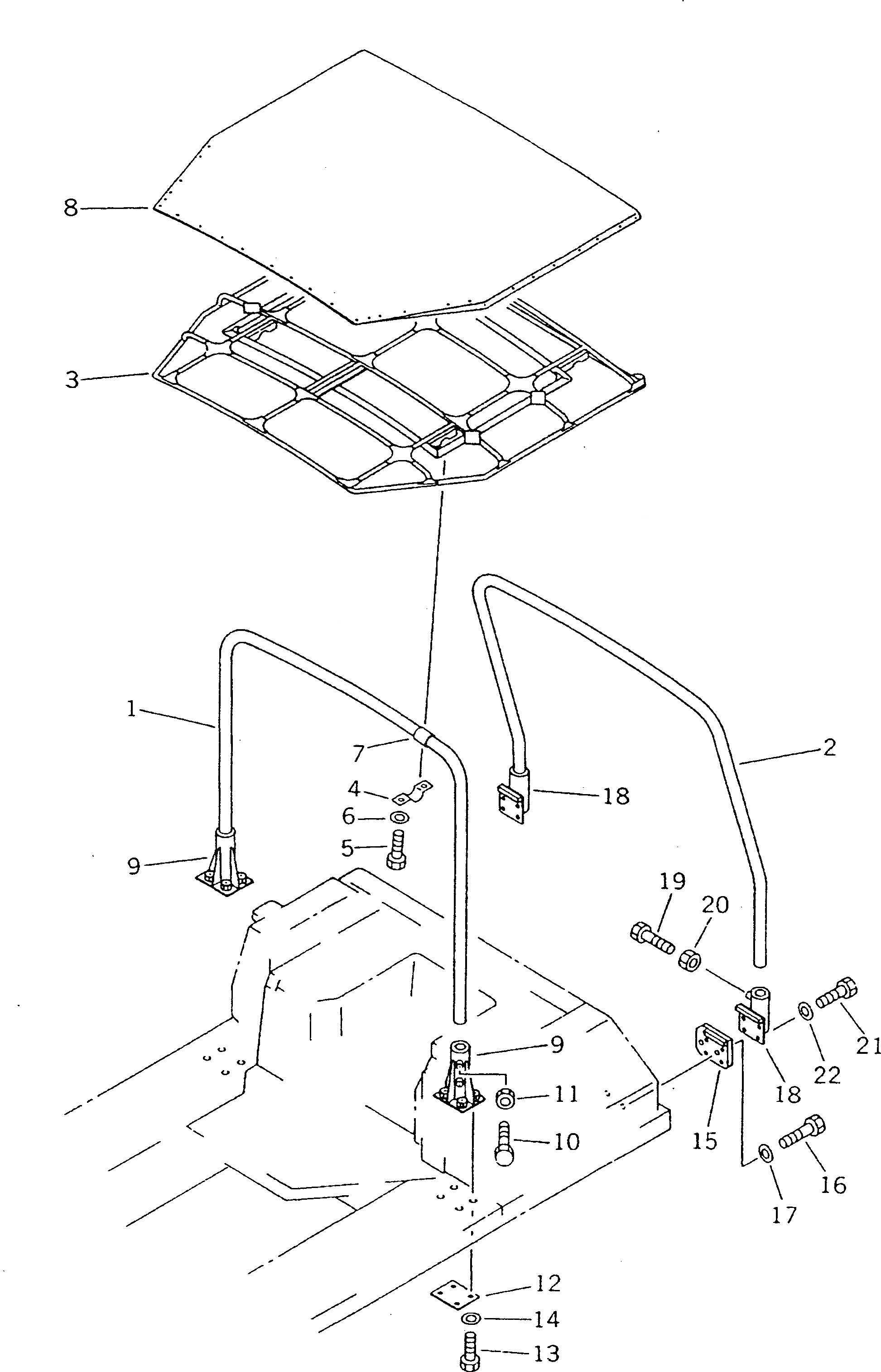
154-906-0050

CANOPY ASS'Y

SN: 36534-UP

1шт.

1

154-906-4120

POLE,FRONT

SN: 36534-UP

1шт.

2

154-906-4130

POLE,REAR

SN: 36534-UP

1шт.

3

154-906-4110

ROOF,CANOPY

SN: 36534-UP

1шт.

4

154-906-4160

CLAMP

SN: 36534-UP

5шт.

5

01010-51435

BOLT

SN: 36534-UP

10шт.

6

01643-31445

WASHER

SN: 36534-UP

10шт.

7

154-906-4170

CUSHION

SN: 36534-UP

5шт.

8

154-906-4191

SHEET

SN: 36534-UP

1шт.

9

154-906-4140

BRACKET,FRONT

SN: 36534-UP

2шт.

10

01016-51450

BOLT

SN: 36534-UP

4шт.

11

01580-11411

NUT

SN: 36534-UP

4шт.

12

154-906-4180

PLATE

SN: 36534-UP

2шт.

13

01010-52460

BOLT

SN: 36534-UP

8шт.

14

01643-32460

WASHER

SN: 36534-UP

8шт.

15

154-906-4151

PLATE

SN: 36534-UP

2шт.

16

01010-52460

BOLT

SN: 36534-UP

4шт.

17

01643-32460

WASHER

SN: 36534-UP

4шт.

18

09470-06425

BRACKET,REAR

SN: 36534-UP

2шт.

19

01010-51450

BOLT

SN: 36534-UP

4шт.

20

01580-11411

NUT

SN: 36534-UP

4шт.

21

01010-51845

BOLT

SN: 36534-UP

8шт.

22

01643-31845

WASHER

SN: 36534-UP

8шт.

|$$25

====================

-1шт.

Выбрано товаров: 25