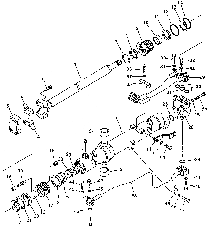
Запчасти Komatsu D85E-21 ЦИЛИНДР ПОДЪЕМА ОТВАЛА (/) (D8E) ОСНОВН. КОМПОНЕНТЫ И РЕМКОМПЛЕКТЫ

Схема запчастей Komatsu D85E-21 - ЦИЛИНДР ПОДЪЕМА ОТВАЛА (/) (D8E) ОСНОВН. КОМПОНЕНТЫ И РЕМКОМПЛЕКТЫ
FIT
1:1
100%

Артикул

Название

Примечание

Количество

G-1

0

CYLINDER GROUP,L.H. (FINAL COATING)

SN: 37518-UP

1шт.

G-1

0

CYLINDER GROUP,L.H.

SN: 36534-37517

1шт.

G-2

0

CYLINDER GROUP,R.H. (FINAL COATING)

SN: 37518-UP

1шт.

G-2

0

CYLINDER GROUP,R.H.

SN: 36534-37517

1шт.

|$$5

====================

-1шт.

|$5

154-63-02050

LIFT CYLINDER ASS'Y,BLADE LIFT

SN: 36534-UP

2шт.

1

154-63-19740

CYLINDER

SN: 36534-UP

1шт.

2

154-63-12340

BUSHING

SN: 36534-UP

2шт.

3

154-63-13220

ROD,PISTON

SN: 36534-UP

1шт.

4

707-88-11290

SHIM, 1.0MM

SN: 36534-UP

10шт.

5

707-66-70020

CAP

SN: 36534-UP

1шт.

6

01011-51600

BOLT

SN: 36534-UP

4шт.

7

144-63-95170

SEAL,DUST (KIT)

SN: 36534-UP

1шт.

8

07179-12084

RING,SNAP

SN: 36534-UP

1шт.

9

707-29-11761

HEAD,CYLINDER

SN: 36534-UP

1шт.

10

07177-07030

BUSHING

SN: 36534-UP

1шт.

11

707-51-70211

PACKING (KIT)

SN: 36534-UP

1шт.

12

07000-12110

O-RING (KIT)

SN: 36534-UP

1шт.

13

707-35-91100

RING,BACK-UP (KIT)

SN: 36534-UP

1шт.

14

07000-12105

O-RING (KIT)

SN: 36534-UP

1шт.

15

707-40-11570

RETAINER

SN: 36534-UP

1шт.

16

130-63-12761

PIN

SN: 36534-UP

1шт.

|$22

154-63-13330

PISTON ASS'Y

SN: 36534-UP

1шт.

17

0

PISTON

SN: 36534-UP

1шт.

18

0

SEAT,VALVE

SN: 36534-UP

6шт.

19

0

VALVE,PISTON

SN: 36534-UP

3шт.

20

707-44-11180

RING,PISTON (KIT)

SN: 36534-UP

1шт.

21

07156-01112

RING,WEAR (KIT)

SN: 36534-UP

2шт.

22

707-69-10710

SLIDER

SN: 36534-UP

1шт.

23

707-69-10700

COLLAR

SN: 36534-UP

1шт.

24

07165-14244

NUT

SN: 36534-UP

1шт.

25

07000-12055

O-RING (KIT)

SN: 36534-UP

1шт.

26

154-63-14100

VALVE ASS'Y

SN: 36534-UP

1шт.

27

01011-51615

BOLT

SN: 36534-UP

2шт.

28

01602-21648

WASHER,SPRING

SN: 36534-UP

2шт.

29

154-61-73320

TUBE,L.H.

SN: 36534-UP

1шт.

29

154-61-73330

TUBE,R.H.

SN: 36534-UP

1шт.

30

07000-13038

O-RING (KIT)

SN: 36534-UP

2шт.

31

07000-13045

O-RING (KIT)

SN: 36534-UP

1шт.

32

01010-51260

BOLT

SN: 36534-UP

2шт.

33

01010-51270

BOLT

SN: 36534-UP

3шт.

34

01643-31232

WASHER

SN: 36534-UP

5шт.

35

20D-62-21430

CLAMP

SN: 36534-UP

1шт.

36

01010-51250

BOLT

SN: 36534-UP

1шт.

37

01643-31232

WASHER

SN: 36534-UP

1шт.

38

154-61-73340

TUBE,L.H.

SN: 36534-UP

1шт.

38

154-61-73350

TUBE,R.H.

SN: 36534-UP

1шт.

39

07000-13048

O-RING (KIT)

SN: 36534-UP

1шт.

40

01010-51065

BOLT

SN: 36534-UP

4шт.

41

01643-31032

WASHER

SN: 36534-UP

4шт.

42

07000-13030

O-RING (KIT)

SN: 36534-UP

1шт.

43

01010-50855

BOLT

SN: 36534-UP

2шт.

44

01010-50840

BOLT

SN: 36534-UP

2шт.

45

01643-30823

WASHER

SN: 36534-UP

4шт.

46

07282-12793

CLAMP

SN: 36534-UP

1шт.

47

01010-51020

BOLT

SN: 36534-UP

2шт.

48

01643-31032

WASHER

SN: 36534-UP

2шт.

49

154-61-99895

PLATE

SN: 36534-UP

2шт.

50

01010-51245

BOLT

SN: 36534-UP

1шт.

51

01643-31232

WASHER

SN: 36534-UP

1шт.

|$$61

====================

-1шт.

|$61

707-98-37580

SERVICE KIT

SN: 36534-UP

2шт.

Выбрано товаров: 62