Запчасти Komatsu D85E-SS-2-E ENGING КАПОТ (С ПРЕФИЛЬТР) (БЕЗ КАБИНЫ) ЧАСТИ КОРПУСА

Схема запчастей Komatsu D85E-SS-2-E - ENGING КАПОТ (С ПРЕФИЛЬТР) (БЕЗ КАБИНЫ) ЧАСТИ КОРПУСА
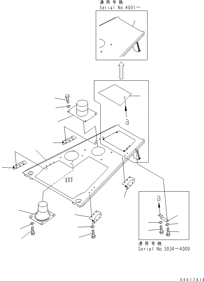
1
1
2
3
4
5
6
7
7
8
8
9
9
9
9
10
11
12
13
14
FIT
1:1
100%

Артикул

Название

Примечание

Количество

1

14X-54-22250

HOOD

SN: 4001-UP

1шт.

|1

14X-54-12292

HOOD

SN: 3490-4001

1шт.

|1

14X-54-12291

HOOD

SN: 3034-3489

1шт.

2

14X-54-12810

PIPE

SN: 3034-UP

1шт.

3

01010-81220

BOLT

SN: 3034-UP

4шт.

4

130-43-64260

COLLAR

SN: 3034-UP

4шт.

5

14X-54-12270

PLATE

SN: 3034-4000

1шт.

6

14X-54-12280

PLATE

SN: 3034-4000

2шт.

7

01010-81220

BOLT

SN: 3034-4000

4шт.

8

01643-31232

WASHER

SN: 3034-4000

4шт.

9

14X-911-1330

HINGE

SN: 3034-UP

4шт.

10

01010-81025

BOLT

SN: 3034-UP

12шт.

11

01643-31032

WASHER

SN: 3034-UP

12шт.

12

14X-54-22821

PIPE

SN: 4173-UP

1шт.

|12

14X-54-22820

PIPE

SN: 4001-4172

1шт.

|12

14X-54-12820

PIPE

SN: 3034-4000

1шт.

13

01010-81220

BOLT

SN: 3034-UP

4шт.

14

01643-31232

WASHER

SN: 3034-UP

4шт.

Выбрано товаров: 18