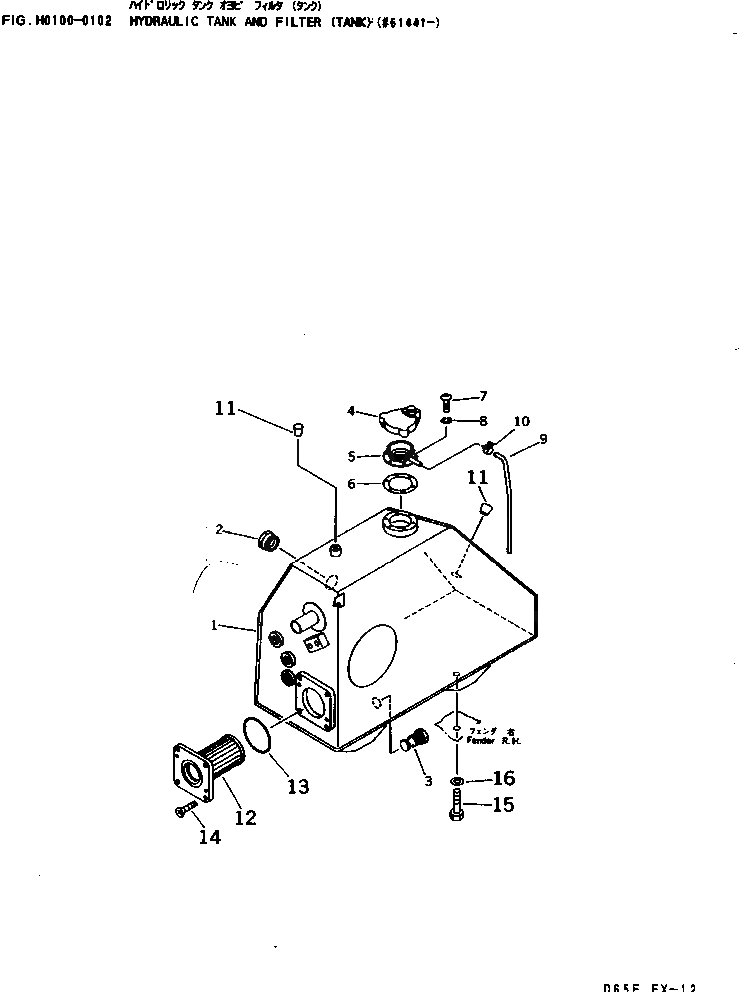
Запчасти Komatsu D85E-SS-2 ГИДР. БАК. AND ФИЛЬТР. (БАК)(№-) ГИДРАВЛИКА

Схема запчастей Komatsu D85E-SS-2 - ГИДР. БАК. AND ФИЛЬТР. (БАК)(№-) ГИДРАВЛИКА
FIT
1:1
100%

Артикул

Название

Примечание

Количество

1

14X-60-11113

TANK

SN: 3001-UP

1шт.

2

20N-60-11142

GAUGE

SN: 3001-UP

1шт.

|2

20N-60-11181

GASKET

SN: 3001-UP

1шт.

3

195-49-31280

VALVE

SN: 3001-UP

1шт.

4

14X-60-11130

CAP

SN: 3001-UP

1шт.

|4

20Y-60-21470

ELEMENT

SN: 3001-UP

1шт.

5

201-60-12171

FILLER NECK

SN: 3001-UP

1шт.

6

205-60-51460

GASKET

SN: 3001-UP

1шт.

7

01220-40514

SCREW

SN: 3001-UP

6шт.

8

01601-20513

WASHER

SN: 3001-UP

6шт.

9

07270-60812

TUBE

SN: 3001-UP

1шт.

10

07285-00095

CLIP

SN: 3001-UP

2шт.

11

07049-01215

PLUG

SN: 3001-UP

2шт.

12

14X-60-11120

STRAINER

SN: 3001-UP

1шт.

13

07000-02090

O-RING

SN: 3001-UP

1шт.

14

01224-40616

SCREW

SN: 3001-UP

2шт.

15

01010-51645

BOLT

SN: 3001-UP

4шт.

16

01643-31645

WASHER

SN: 3001-UP

4шт.

Выбрано товаров: 18