Запчасти Komatsu D85E-SS-2 ГИДР. НАСОС. ЛИНИЯ (МАСЛООХЛАДИТЕЛЬ)(№-) ГИДРАВЛИКА

Схема запчастей Komatsu D85E-SS-2 - ГИДР. НАСОС. ЛИНИЯ (МАСЛООХЛАДИТЕЛЬ)(№-) ГИДРАВЛИКА
FIT
1:1
100%

Артикул

Название

Примечание

Количество

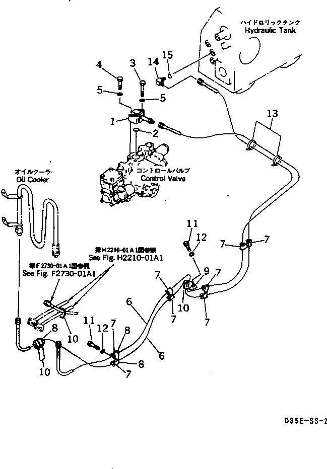
1

14W-62-11150

TUBE

SN: 3001-UP

1шт.

2

07000-13045

O-RING

SN: 3001-UP

1шт.

3

01010-51060

BOLT

SN: 3001-UP

2шт.

4

01010-51055

BOLT

SN: 3001-UP

2шт.

5

01643-31032

WASHER

SN: 3001-UP

4шт.

6

07102-20447

HOSE

SN: 3001-UP

2шт.

7

04434-52712

CLIP

SN: 3001-UP

8шт.

8

07095-20420

CUSHION

SN: 3001-UP

9шт.

9

14Y-62-11750

CLIP

SN: 3001-UP

1шт.

10

08034-00536

BAND

SN: 3001-UP

4шт.

11

01010-51220

BOLT

SN: 3001-UP

5шт.

12

01643-31232

WASHER

SN: 3001-UP

5шт.

13

08034-00536

BAND

SN: 3001-UP

2шт.

14

07235-10422

ELBOW

SN: 3001-UP

1шт.

15

07002-02034

O-RING

SN: 3001-UP

1шт.

Выбрано товаров: 15