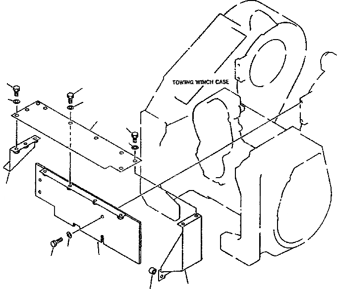
Запчасти Komatsu D85E-SS-2 ТЯГОВ. ЛЕБЕДКА (COVER) РАБОЧЕЕ ОБОРУДОВАНИЕ

Схема запчастей Komatsu D85E-SS-2 - ТЯГОВ. ЛЕБЕДКА (COVER) РАБОЧЕЕ ОБОРУДОВАНИЕ
4
6
5
5
6
1
3
5
6
9
2
8
7
FIT
1:1
100%

Артикул

Название

Примечание

Количество

1

14X-960-3792

COVER

Field_1: J10001-J10483

1шт.

|$2

14X-960-3794

COVER

Field_1: J10484-

1шт.

2

01010-81230

BOLT

Field_1: J10001-

4шт.

3

01643-31232

WASHER

Field_1: J10001-

4шт.

4

14X-960-6311

COVER

Field_1: J10001-

1шт.

5

01010-81220

BOLT

Field_1: J10001-

9шт.

6

01643-31232

WASHER

Field_1: J10001-

9шт.

7

14X-960-6321

COVER

Field_1: J10001-

1шт.

8

15B-960-6320

SEAT

Field_1: J10001-

3шт.

9

14X-960-6331

COVER

Field_1: J10001-J10483

1шт.

|$11

14X-960-6333

COVER

Field_1: J10484-

1шт.

Выбрано товаров: 11