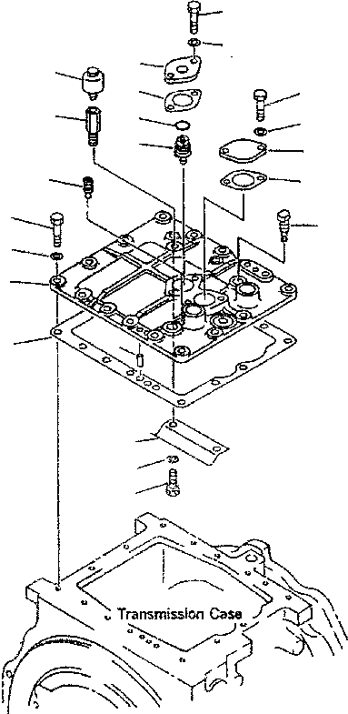
Запчасти Komatsu D85E-SS-2 ТРАНСМИССИЯ (КРЫШКА УПРАВЛЯЮЩЕГО КЛАПАНА) СИЛОВАЯ ПЕРЕДАЧА И КОНЕЧНАЯ ПЕРЕДАЧА

Схема запчастей Komatsu D85E-SS-2 - ТРАНСМИССИЯ (КРЫШКА УПРАВЛЯЮЩЕГО КЛАПАНА) СИЛОВАЯ ПЕРЕДАЧА И КОНЕЧНАЯ ПЕРЕДАЧА
5
6
4
17
3
13
9
15
14
15
10
13
12
11
7
8
2
18
19
1
14
16
FIT
1:1
100%

Артикул

Название

Примечание

Количество

|$1

14X-15-00012

TRANSMISSION ASS'Y

Field_1: J10241-

1шт.

|$2

14X-15-00372

COVER ASS'Y

Field_1: J10241-

1шт.

1

14X-15-15812

COVER

Field_1: J10241-

1шт.

2

14X-15-15750

SCREW

Field_1: J10241-

1шт.

3

14X-15-15760

SCREW

Field_1: J10241-

1шт.

4

14X-15-15760

PLATE

Field_1: J10241-

1шт.

5

01010-81025

BOLT

Field_1: J10241-

2шт.

6

01643-31032

WASHER

Field_1: J10241-

2шт.

7

07030-00252

BREATHER

Field_1: J10241-

1шт.

8

170-21-11190

NIPPLE

Field_1: J10241-

2шт.

9

125-15-21640

PLATE

Field_1: J10241-

1шт.

10

14X-15-15821

COVER

Field_1: J10241-

1шт.

11

14X-15-16450

PLUG

Field_1: J10241-

1шт.

12

07000-72020

O-RING (K6)

Field_1: J10241-

1шт.

13

113-15-11641

GASKET (K6)

Field_1: J10241-

2шт.

14

01010-81025

BOLT

Field_1: J10241-

4шт.

15

01643-31032

WASHER

Field_1: J10241-

4шт.

16

14X-15-15910

GASKET (K6)

Field_1: J10241-

1шт.

17

04020-01228

PIN

Field_1: J10241-

2шт.

18

01010-81235

BOLT

Field_1: J10241-

15шт.

19

01643-31232

WASHER

Field_1: J10241-

15шт.

Выбрано товаров: 21