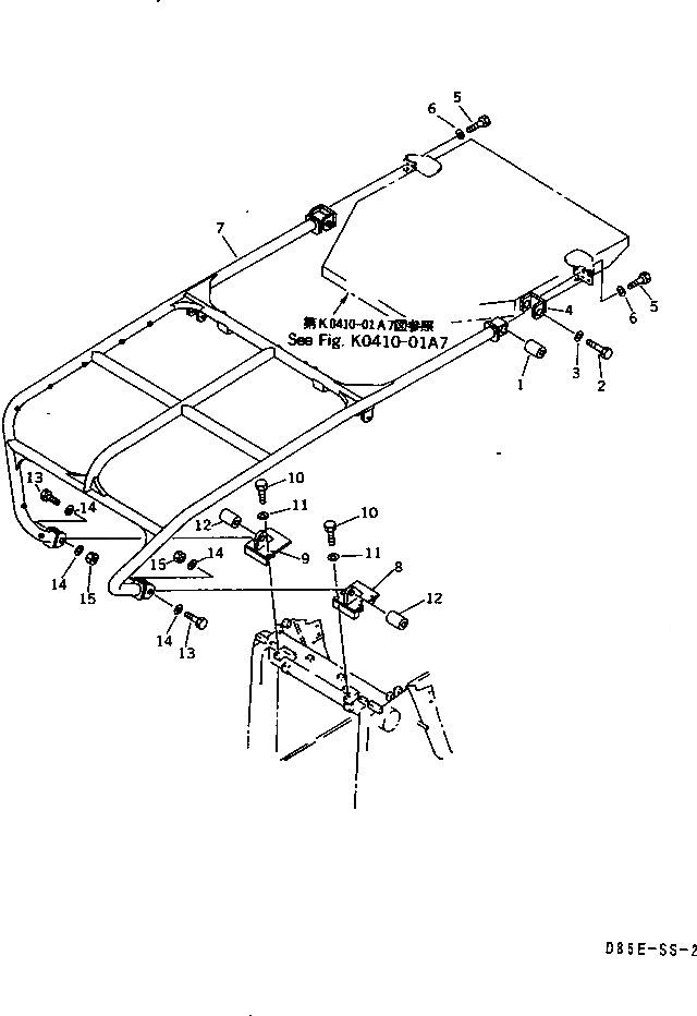
Запчасти Komatsu D85E-SS-2A-E ROPS SWEEP (КРЫША ЧАСТИ КОРПУСА И SWEEP)(№-9) КАБИНА ОПЕРАТОРА И СИСТЕМА УПРАВЛЕНИЯ

Схема запчастей Komatsu D85E-SS-2A-E - ROPS SWEEP (КРЫША ЧАСТИ КОРПУСА И SWEEP)(№-9) КАБИНА ОПЕРАТОРА И СИСТЕМА УПРАВЛЕНИЯ
FIT
1:1
100%

Артикул

Название

Примечание

Количество

1

195-978-1311

ISOLATOR

SN: 3034-@

2шт.

2

01019-32450

BOLT

SN: 3034-@

2шт.

3

01643-32460

WASHER

SN: 3034-@

2шт.

4

14X-978-2370

BRACKET

SN: 3034-@

2шт.

5

01010-81240

BOLT

SN: 3034-@

8шт.

6

01643-31232

WASHER

SN: 3034-@

8шт.

7

14X-978-2121

SWEEP

SN: 3034-3329

1шт.

8

14U-906-1110

BRACKET,L.H.

SN: 3038-3329

1шт.

|8

14W-906-1151

BRACKET,L.H.

SN: 3034-3037

1шт.

9

14U-906-1120

BRACKET,R.H.

SN: 3038-3329

1шт.

|9

14W-906-1161

BRACKET,R.H.

SN: 3034-3037

1шт.

10

01010-81675

BOLT

SN: 3038-@

6шт.

|10

01010-81275

BOLT

SN: 3034-3037

8шт.

11

01643-31645

WASHER

SN: 3038-@

6шт.

|11

01643-31232

WASHER

SN: 3034-3037

8шт.

12

14X-978-2310

COLLAR

SN: 3034-3329

2шт.

13

01011-82730

BOLT

SN: 3034-3329

2шт.

14

01643-32780

WASHER

SN: 3034-3329

4шт.

15

01580-12722

NUT

SN: 3034-3329

2шт.

Выбрано товаров: 19