Запчасти Komatsu D85E-SS-2A ГУСЕНИЧНАЯ РАМА(№-) ХОДОВАЯ

Схема запчастей Komatsu D85E-SS-2A - ГУСЕНИЧНАЯ РАМА(№-) ХОДОВАЯ
FIT
1:1
100%

Артикул

Название

Примечание

Количество

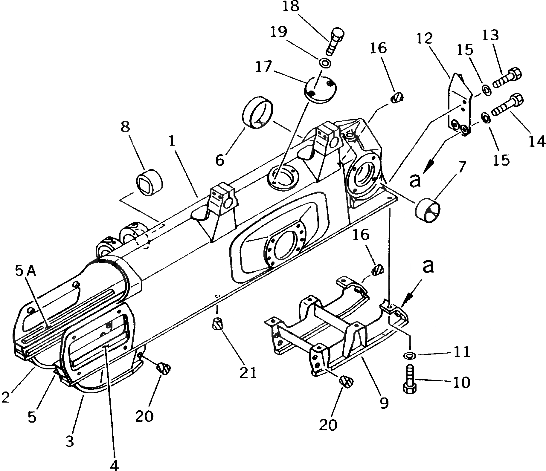
|1

14U-30-00011

TRACK FRAME ASS'Y,L.H.

SN: 3001-UP

1шт.

|1

14U-30-00021

TRACK FRAME ASS'Y,R.H.

SN: 3001-UP

1шт.

1

14U-30-11112

FRAME,L.H.

SN: 3018-UP

1шт.

|1

14U-30-11111

FRAME,L.H.

SN: 3001-3017

1шт.

|1

14U-30-11122

FRAME,R.H.

SN: 3018-UP

1шт.

|1

14U-30-11121

FRAME,R.H.

SN: 3001-3017

1шт.

2

14X-30-11292

GUARD,L.H. (WELDED)

SN: 3001-UP

1шт.

|2

14X-30-11312

GUARD,R.H. (WELDED)

SN: 3001-UP

1шт.

3

14X-30-11312

GUARD,L.H. (WELDED)

SN: 3001-UP

1шт.

|3

14X-30-11292

GUARD,R.H. (WELDED)

SN: 3001-UP

1шт.

4

14X-30-11D51

PLATE (WELDED)

SN: 3001-UP

2шт.

5

14X-30-11D61

PLATE (WELDED)

SN: 3001-UP

2шт.

5A

14X-30-11D91

PLATE (WELDED)

SN: 3001-UP

2шт.

6

14Y-30-18130

BUSHING

SN: 3001-UP

1шт.

7

14Y-30-18140

BUSHING

SN: 3001-UP

1шт.

8

14Y-50-11450

BUSHING

SN: 3001-UP

1шт.

9

14Y-30-16133

GUARD

SN: 3018-UP

2шт.

|9

14Y-30-16132

GUARD

SN: 3001-3017

2шт.

10

01010-51845

BOLT

SN: 3001-UP

12шт.

11

01643-31845

WASHER

SN: 3001-UP

12шт.

12

14X-30-11361

BRACKET,L.H.

SN: 3001-UP

1шт.

|12

14X-30-11351

BRACKET,R.H.

SN: 3001-UP

1шт.

13

01010-51845

BOLT

SN: 3001-UP

4шт.

14

01010-51865

BOLT

SN: 3001-UP

4шт.

15

01643-31845

WASHER

SN: 3001-UP

8шт.

16

07049-01822

PLUG

SN: 3001-UP

4шт.

17

14Y-30-11277

COVER

SN: 3010-UP

2шт.

|17

14Y-30-11276

COVER

SN: 3001-3009

2шт.

18

01010-51225

BOLT

SN: 3001-UP

4шт.

19

01643-31232

WASHER

SN: 3001-UP

4шт.

20

07049-01215

PLUG

SN: 3001-UP

8шт.

21

07049-01822

PLUG

SN: 3001-UP

10шт.

Выбрано товаров: 32