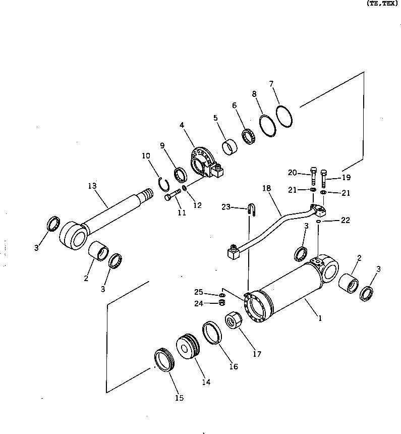
Запчасти Komatsu D85E-SS-2A ЦИЛИНДР РЫХЛИТЕЛЯ(№-) РАБОЧЕЕ ОБОРУДОВАНИЕ

Схема запчастей Komatsu D85E-SS-2A - ЦИЛИНДР РЫХЛИТЕЛЯ(№-) РАБОЧЕЕ ОБОРУДОВАНИЕ
FIT
1:1
100%

Артикул

Название

Примечание

Количество

G-1

0

CYLINDER GROUP,RIPPER

SN: 3001-UP

1шт.

|$$2

====================

-1шт.

|1

14X-63-01052

CYLINDER ASS'Y,RIPPER

SN: 3001-UP

1шт.

1

14X-63-42142

CYLINDER

SN: 3001-UP

1шт.

2

07143-10707

BUSHING

SN: 3001-UP

2шт.

3

07145-00075

SEAL,DUST (K10)

SN: 3001-UP

4шт.

4

707-27-14781

HEAD,CYLINDER

SN: 3001-UP

1шт.

5

707-52-10700

BUSHING

SN: 3001-UP

1шт.

6

707-51-70211

PACKING,ROD (K10)

SN: 3001-UP

1шт.

7

07000-12135

O-RING (K10)

SN: 3001-UP

1шт.

8

07146-02136

RING,BACK-UP (K10)

SN: 3001-UP

1шт.

9

144-63-95170

SEAL,DUST (K10)

SN: 3001-UP

1шт.

10

07179-12084

RING,SNAP

SN: 3001-UP

1шт.

11

01010-81455

BOLT

SN: 3001-UP

12шт.

12

01643-31445

WASHER

SN: 3001-UP

12шт.

13

14X-63-42121

ROD

SN: 3001-UP

1шт.

14

707-36-14120

PISTON

SN: 3001-UP

1шт.

15

707-44-14180

RING,PISTON (K10)

SN: 3001-UP

1шт.

16

07156-01417

RING,WEAR (K10)

SN: 3001-UP

1шт.

17

07165-15252

NUT

SN: 3001-UP

1шт.

18

14X-63-42182

TUBE

SN: 3001-UP

1шт.

19

07372-21040

BOLT

SN: 3001-UP

2шт.

20

07372-21050

BOLT

SN: 3001-UP

2шт.

21

01643-51032

WASHER

SN: 3001-UP

4шт.

22

07000-13030

O-RING (K10)

SN: 3001-UP

1шт.

23

07283-22738

CLIP

SN: 3001-UP

1шт.

24

01599-01011

NUT

SN: 3001-UP

2шт.

25

01643-31032

WASHER

SN: 3001-UP

2шт.

|$$29

====================

-1шт.

Выбрано товаров: 29