Запчасти Komatsu D85ESS-2A КАПОТ (С INTAKE/ВЫПУСКН. EXTENSION) (БЕЗ КАБИНЫ)(№-) ЧАСТИ КОРПУСА

Схема запчастей Komatsu D85ESS-2A - КАПОТ (С INTAKE/ВЫПУСКН. EXTENSION) (БЕЗ КАБИНЫ)(№-) ЧАСТИ КОРПУСА
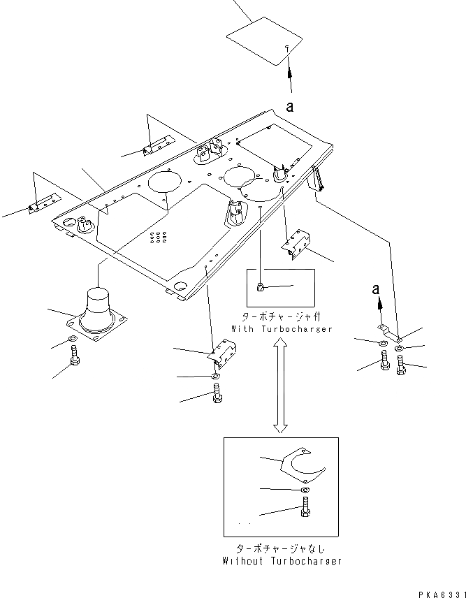
1
2
3
4
5
5
6
6
7
7
7
7
8
9
10
11
12
13
14
15
FIT
1:1
100%

Артикул

Название

Примечание

Количество

1

14X-54-12490

HOOD

SN: 3001-UP

1шт.

2

07049-01215

PLUG,(WITH TURBOCHARGER)

SN: 3001-UP

2шт.

3

14X-54-12270

PLATE

SN: 3001-UP

1шт.

4

14X-54-12280

PLATE

SN: 3001-UP

2шт.

5

01010-51220

BOLT

SN: 3001-UP

4шт.

6

01643-31232

WASHER

SN: 3001-UP

4шт.

7

203-54-51412

HINGE

SN: 3001-UP

4шт.

8

01010-51225

BOLT

SN: 3001-UP

12шт.

9

01643-31232

WASHER

SN: 3001-UP

12шт.

10

14X-54-12240

PLATE,(WITH TURBOCHARGER)

SN: 3001-UP

1шт.

11

01010-51220

BOLT,(WITH TURBOCHARGER)

SN: 3001-UP

2шт.

12

01643-31232

WASHER,(WITH TURBOCHARGER)

SN: 3001-UP

2шт.

13

14X-54-12810

PIPE

SN: 3001-UP

1шт.

14

01010-51220

BOLT

SN: 3001-UP

4шт.

15

130-43-64260

COLLAR

SN: 3001-UP

4шт.

Выбрано товаров: 0