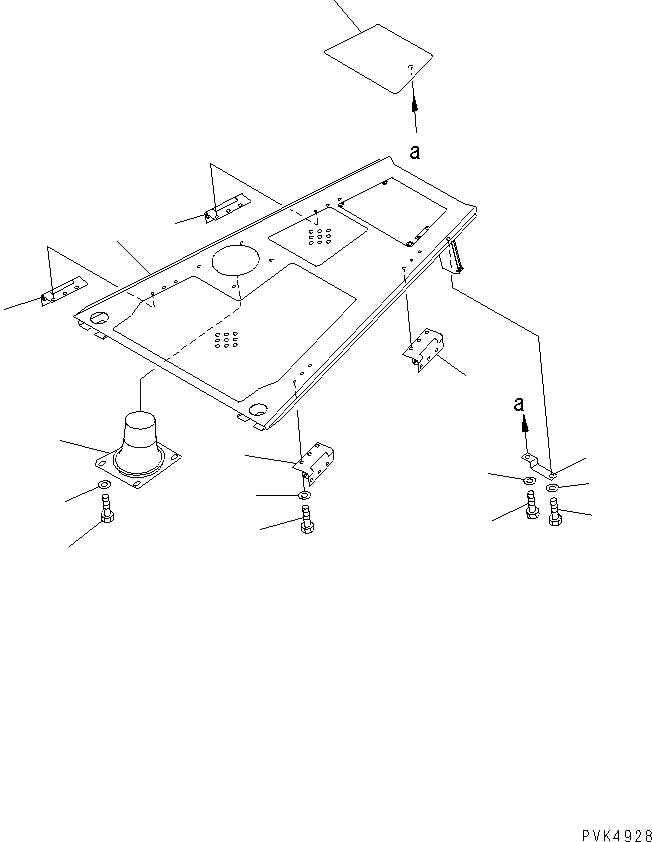
Запчасти Komatsu D85ESS-2A КАПОТ (БЕЗ КАБИНЫ)(№-) ЧАСТИ КОРПУСА

Схема запчастей Komatsu D85ESS-2A - КАПОТ (БЕЗ КАБИНЫ)(№-) ЧАСТИ КОРПУСА
1
2
3
4
5
6
7
7
8
8
9
9
9
9
10
11
FIT
1:1
100%

Артикул

Название

Примечание

Количество

1

14X-54-12115

HOOD

SN: 3102-4000

1шт.

1

14X-54-12114

HOOD

SN: 3034-3101

1шт.

2

14X-54-12810

PIPE

SN: 3034-@

1шт.

3

01010-81220

BOLT

SN: 3034-@

4шт.

4

130-43-64260

COLLAR

SN: 3034-@

4шт.

5

14X-54-12270

PLATE

SN: 3034-4000

1шт.

6

14X-54-12280

PLATE

SN: 3034-4000

2шт.

7

01010-81220

BOLT

SN: 3034-4000

4шт.

8

01643-31232

WASHER

SN: 3034-4000

4шт.

9

14X-911-1330

HINGE

SN: 3034-@

4шт.

10

01010-81025

BOLT

SN: 3034-@

12шт.

11

01643-31032

WASHER

SN: 3034-@

12шт.

Выбрано товаров: 12