Запчасти Komatsu D85EX-15 РЫХЛИТЕЛЬ ГИДРОЦИЛИНДР ПОДЪЕМА(№9-) ОСНОВН. КОМПОНЕНТЫ И РЕМКОМПЛЕКТЫ

Схема запчастей Komatsu D85EX-15 - РЫХЛИТЕЛЬ ГИДРОЦИЛИНДР ПОДЪЕМА(№9-) ОСНОВН. КОМПОНЕНТЫ И РЕМКОМПЛЕКТЫ
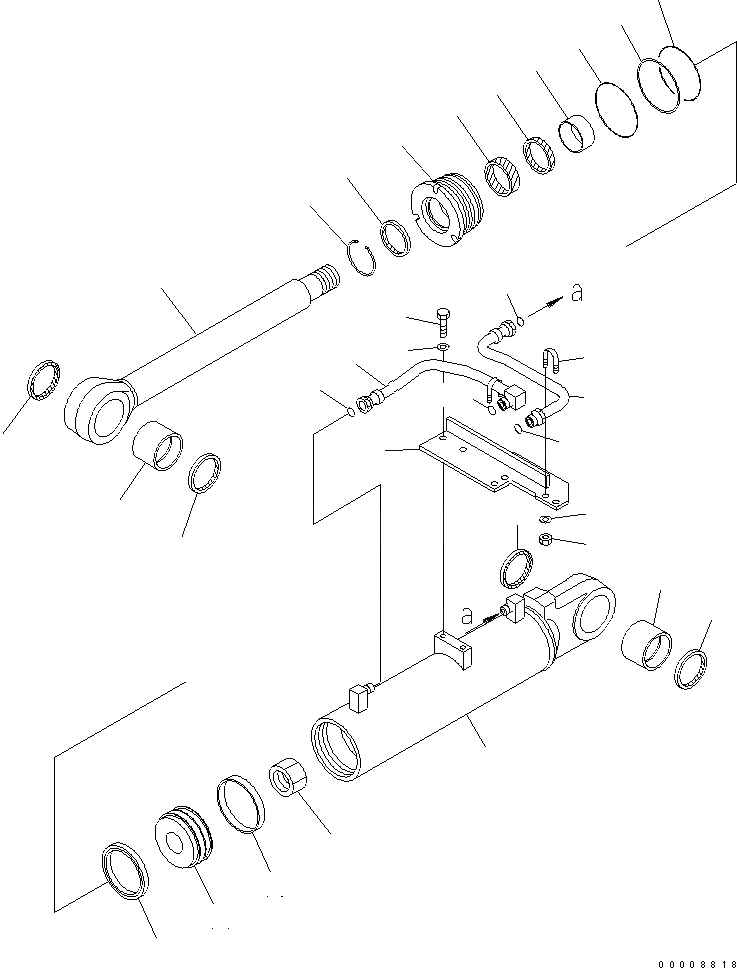
1
2
3
3
3
3
4
5
6
7
7A
8
9
10
11
12
13
14
15
16
17
18
18
19
20
21
22
23
24
25
26
27
27
FIT
1:1
100%

Артикул

Название

Примечание

Количество

G-1

0

CYLINDER GROUP,L.H. (FINAL COATING)

SN: 10580-UP

1шт.

G-1

0

CYLINDER GROUP,L.H.

SN: 10019-10579

1шт.

G-2

0

CYLINDER GROUP,R.H.

SN: 10580-UP

1шт.

G-2

0

CYLINDER GROUP,R.H.

SN: 10019-10579

1шт.

|$$5

====================

-1шт.

|$7

707-00-0H040

CYLINDER ASS'Y,RIPPER LIFT

SN: 10580-UP

2шт.

|$8

707-00-0E201

CYLINDER ASS'Y,RIPPER LIFT

SN: 10019-10579

2шт.

1

707-11-13690

CYLINDER

SN: 10001-UP

1шт.

2

154-63-42320

BUSHING

SN: 10001-UP

1шт.

3

07145-00075

SEAL,DUST (KIT)

SN: 10001-UP

4шт.

4

721-58-70180

ROD

SN: 10001-UP

1шт.

5

154-63-42320

BUSHING

SN: 10001-UP

1шт.

6

707-29-13630

HEAD,CYLINDER

SN: 10019-UP

1шт.

7

707-51-70030

PACKING,ROD (KIT)

SN: 10019-UP

1шт.

7A

707-51-70640

RING,BUFFER (KIT)

SN: 10019-UP

1шт.

8

707-52-90460

BUSHING

SN: 10019-UP

1шт.

9

707-56-70540

SEAL,DUST (KIT)

SN: 10580-UP

1шт.

9

144-63-95170

SEAL,DUST (KIT)

SN: 10019-10579

1шт.

10

07179-12084

RING,SNAP

SN: 10001-UP

1шт.

11

07146-02126

RING,BACK-UP (KIT)

SN: 10001-UP

1шт.

12

07000-12125

O-RING (KIT)

SN: 10001-UP

1шт.

13

07000-12130

O-RING (KIT)

SN: 10001-UP

1шт.

14

707-36-13240

PISTON

SN: 10001-UP

1шт.

15

707-44-13180

RING,PISTON (KIT)

SN: 10001-UP

1шт.

16

07156-01315

RING,WEAR (KIT)

SN: 10001-UP

1шт.

17

707-67-52020

NUT

SN: 10001-UP

1шт.

18

02896-11015

O-RING (KIT)

SN: 10001-UP

2шт.

19

707-86-55110

TUBE,L.H.

SN: 10001-UP

1шт.

19

707-86-55130

TUBE,R.H.

SN: 10001-UP

1шт.

20

707-86-55120

TUBE,L.H.

SN: 10001-UP

1шт.

20

707-86-55140

TUBE,R.H.

SN: 10001-UP

1шт.

21

707-88-22980

BRACKET,L.H.

SN: 10001-UP

1шт.

21

707-88-22990

BRACKET,R.H.

SN: 10001-UP

1шт.

22

01010-81230

BOLT

SN: 10001-UP

2шт.

23

01643-31232

WASHER

SN: 10001-UP

2шт.

24

07283-32236

CLIP

SN: 10001-UP

2шт.

25

01597-01009

NUT

SN: 10001-UP

4шт.

26

01643-31032

WASHER

SN: 10001-UP

4шт.

27

02896-11015

O-RING (KIT)

SN: 10001-UP

2шт.

|$$40

====================

-1шт.

|$42

707-99-43700

SERVICE KIT

SN: 10580-UP

2шт.

|$43

707-99-43660

SERVICE KIT

SN: 10019-10579

2шт.

Выбрано товаров: 42