Запчасти Komatsu D85EX-15 ОМЫВАТЕЛЬ СТЕКЛА БАК КАБИНА ОПЕРАТОРА И СИСТЕМА УПРАВЛЕНИЯ

Схема запчастей Komatsu D85EX-15 - ОМЫВАТЕЛЬ СТЕКЛА БАК КАБИНА ОПЕРАТОРА И СИСТЕМА УПРАВЛЕНИЯ
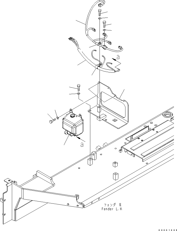
1
2
3
4
5
5
6
6
7
8
9
10
11
12
FIT
1:1
100%

Артикул

Название

Примечание

Количество

1

14X-911-1160

WASHER TANK

SN: 10001-UP

2шт.

2

01010-80612

BOLT

SN: 10001-UP

4шт.

3

01643-30623

WASHER

SN: 10001-UP

4шт.

4

154-911-7321

BRACKET

SN: 10001-UP

1шт.

5

01010-81230

BOLT

SN: 10001-UP

2шт.

6

01643-31232

WASHER

SN: 10001-UP

2шт.

7

154-06-71120

WIRING HARNESS

SN: 10001-UP

1шт.

8

154-911-7210

HOSE ASSY

SN: 10001-UP

1шт.

9

04434-51912

CLIP

SN: 10001-UP

1шт.

10

01010-81230

BOLT

SN: 10001-UP

2шт.

11

01643-31232

WASHER

SN: 10001-UP

2шт.

12

04434-51012

CLIP

SN: 10001-UP

1шт.

Выбрано товаров: 12