Запчасти Komatsu D85EX-15E0 H.S.S (РУЛЕВ. УПРАВЛЕНИЕ СУППОРТ)(№-) СИЛОВАЯ ПЕРЕДАЧА И КОНЕЧНАЯ ПЕРЕДАЧА

Схема запчастей Komatsu D85EX-15E0 - H.S.S (РУЛЕВ. УПРАВЛЕНИЕ СУППОРТ)(№-) СИЛОВАЯ ПЕРЕДАЧА И КОНЕЧНАЯ ПЕРЕДАЧА
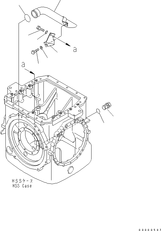
1
2
3
4
5
6
7
8
9
FIT
1:1
100%

Артикул

Название

Примечание

Количество

|$2

154-22-61000

STEERING ASS'Y

SN: 11001-UP

1шт.

|$3

154-22-61020

STEERING ASS'Y,(WITH ENGINE OIL HEATER)

SN: 11001-UP

1шт.

|$$3

THESE ASSEMBLIES CONSIST OF ALL PARTS SHOWN IN FIGS.F2370-51A0 TO F2370-58A0.

-1шт.

1

154-22-26210

TUBE

SN: 11001-UP

1шт.

2

07000-72065

O-RING

SN: 11001-UP

1шт.

3

01010-81225

BOLT

SN: 11001-UP

1шт.

4

01643-31232

WASHER

SN: 11001-UP

1шт.

5

154-22-21130

PLATE

SN: 11001-UP

1шт.

6

01010-81225

BOLT

SN: 11001-UP

2шт.

7

01643-31232

WASHER

SN: 11001-UP

2шт.

8

6150-23-5620

PLUG

SN: 11001-UP

1шт.

9

07002-23634

O-RING

SN: 11001-UP

1шт.

Выбрано товаров: 0