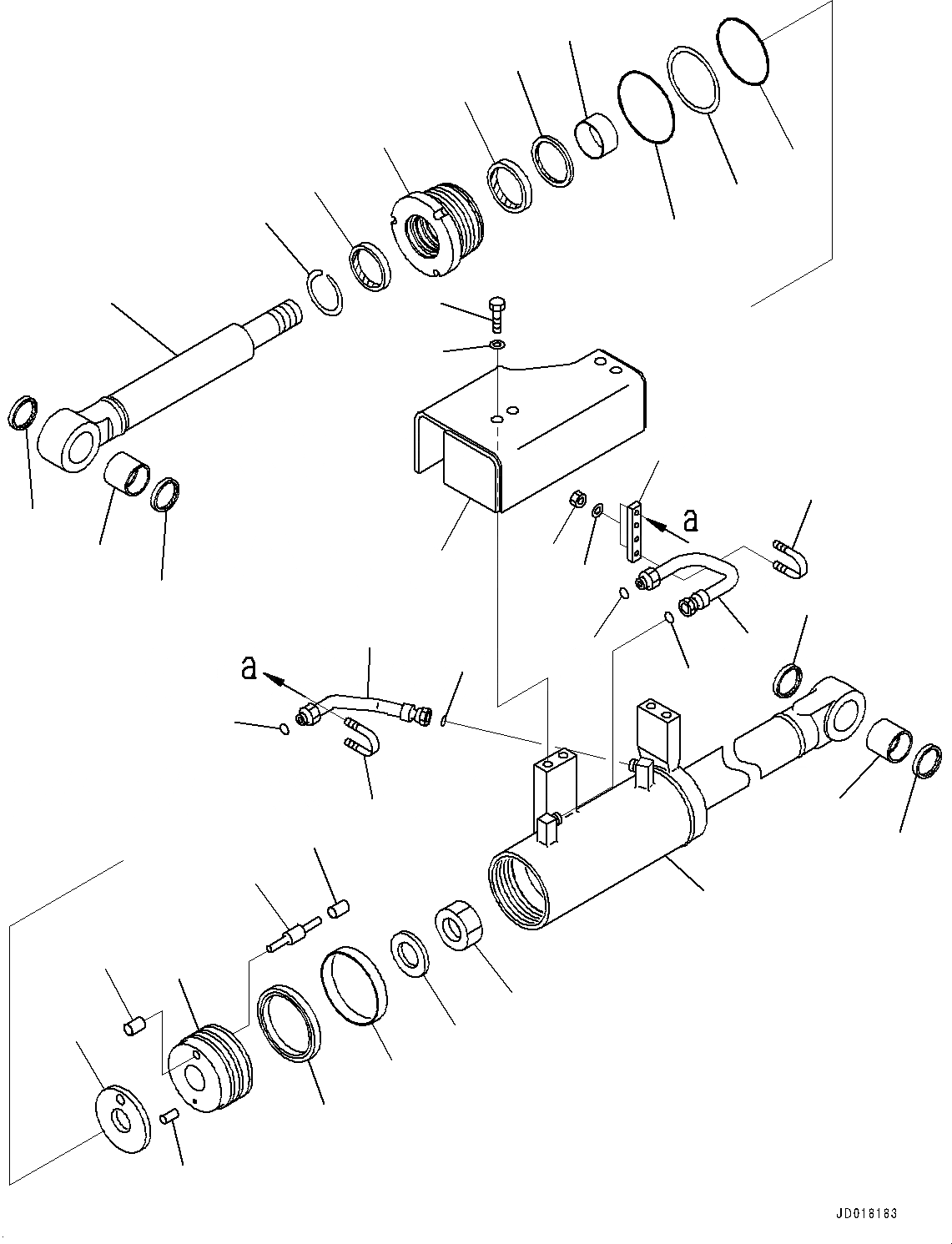
Запчасти Komatsu D85EX-15E0 DOZER ЦИЛИНДР ПЕРЕКОСА ОТВАЛА, ВНУТР. ЧАСТИ, ЦИЛИНДР ПЕРЕКОСА, ЛЕВ. (№9-) DOZER ЦИЛИНДР ПЕРЕКОСА ОТВАЛА, ДЛЯ МЕХАНИЧ. ANGLE НАКЛОНЯЕМ. DOZER

Схема запчастей Komatsu D85EX-15E0 - DOZER ЦИЛИНДР ПЕРЕКОСА ОТВАЛА, ВНУТР. ЧАСТИ, ЦИЛИНДР ПЕРЕКОСА, ЛЕВ. (№9-) DOZER ЦИЛИНДР ПЕРЕКОСА ОТВАЛА, ДЛЯ МЕХАНИЧ. ANGLE НАКЛОНЯЕМ. DOZER
25
23
21
20
24
19
18
10
16
8
11
12
13
7
6
19
22
17
15
7
3
5
4
5
1
26
2
2
27
28
29
31
32
33
36
35
34
31
14
30
9
FIT
1:1
100%

Артикул

Название

Примечание

Количество

|$0

707-00-0H120

Cylinder Assembly,L.H.

SN: 11609-UP

1шт.

1

707-11-13720

Cylinder,L.H.

SN: 11609-UP

1шт.

2

02896-11012

O-ring, (Kit : K09)

SN: 11609-UP

2шт.

3

721-58-70190

Rod, Piston

SN: 11609-UP

1шт.

4

07143-10505

Bushing

SN: 11609-UP

1шт.

5

07145-00050

Seal, Dust, (Kit : K09)

SN: 11609-UP

2шт.

6

07143-10505

Bushing

SN: 11609-UP

1шт.

7

07145-00050

Seal, Dust, (Kit : K09)

SN: 11609-UP

2шт.

8

707-29-13181

Cylinder Head

SN: 11609-UP

1шт.

9

707-52-90461

Bushing

SN: 11609-UP

1шт.

10

707-51-70030

Packing, Rod, (Kit : K09)

SN: 11609-UP

1шт.

11

707-56-70540

Seal, Dust, (Kit : K09)

SN: 11609-UP

1шт.

12

07000-12125

O-ring, (Kit : K09)

SN: 11609-UP

1шт.

13

07146-02126

Ring, Back-up, (Kit : K09)

SN: 11609-UP

1шт.

14

07000-12130

O-ring, (Kit : K09)

SN: 11609-UP

1шт.

15

07179-12084

Ring, Snap

SN: 11609-UP

1шт.

16

707-51-70640

Ring, Buffer, (Kit : K09)

SN: 11609-UP

1шт.

|$17

707-91-91040

Piston Subassembly

SN: 11609-UP

1шт.

17

Piston

SN: 11609-UP

1шт.

18

Valve, Piston

SN: 11609-UP

1шт.

19

Seat, Valve

SN: 11609-UP

2шт.

20

707-44-13180

Ring, Piston, (Kit : K09)

SN: 11609-UP

1шт.

21

07156-01315

Ring, Wear, (Kit : K09)

SN: 11609-UP

1шт.

22

707-40-13240

Retainer

SN: 11609-UP

1шт.

23

707-40-13250

Retainer

SN: 11609-UP

1шт.

24

04020-00616

Pin, Dowel

SN: 11609-UP

1шт.

25

707-67-45050

Nut

SN: 11609-UP

1шт.

26

707-86-47550

Tube,L.H.

SN: 11609-UP

1шт.

27

02896-11012

O-ring, (Kit : K09)

SN: 11609-UP

1шт.

28

707-86-47560

Tube,L.H.

SN: 11609-UP

1шт.

29

02896-11012

O-ring, (Kit : K09)

SN: 11609-UP

1шт.

30

154-63-52660

Plate

SN: 11609-UP

1шт.

31

07283-32236

Clip, Pipe

SN: 11609-UP

2шт.

32

01597-01009

Nut

SN: 11609-UP

4шт.

33

01643-31032

Washer

SN: 11609-UP

4шт.

34

707-88-35620

Cover,L.H.

SN: 11609-UP

1шт.

35

01010-81635

Bolt

SN: 11609-UP

4шт.

36

01643-31645

Washer

SN: 11609-UP

4шт.

Выбрано товаров: 0