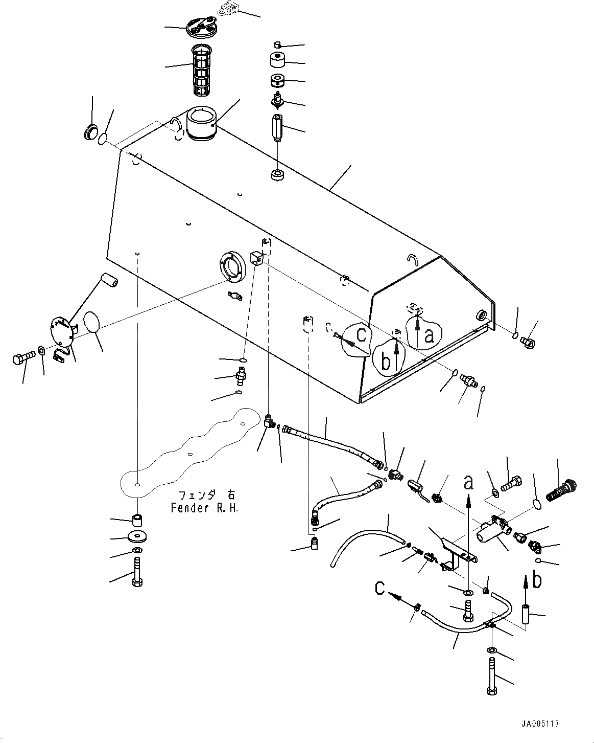
Запчасти Komatsu D85EX-15E0 ТОПЛИВН. БАК., (№7-) ТОПЛИВН. БАК., С РЕГУЛИР. МНОГОСТОЕЧН. РЫХЛИТ.

Схема запчастей Komatsu D85EX-15E0 - ТОПЛИВН. БАК., (№7-) ТОПЛИВН. БАК., С РЕГУЛИР. МНОГОСТОЕЧН. РЫХЛИТ.
27
28
23
35
29
36
37
30
26
49
21
46
22
22
32
33
48
21
40
38
39
40
47
41
31
34
45
46
24
43
42
25
4
3
6
5
44
53
50
52
51
20
18
19
18
19
20
14
15
2
7
8
9
10
11
12
54
13
1
16
17
FIT
1:1
100%

Артикул

Название

Примечание

Количество

1

154-04-72210

Tank, Fuel

SN: 11627-UP

1шт.

2

17A-04-42140

Filler

SN: 11627-UP

1шт.

3

7861-93-4940

Sensor,Fuel Level

SN: 11609-UP

1шт.

4

07000-12085

O-ring

SN: 11609-UP

1шт.

5

01010-81016

Bolt

SN: 11609-UP

4шт.

6

01643-31032

Washer

SN: 11609-UP

4шт.

7

17A-04-41411

Cap

SN: 11627-UP

1шт.

8

07056-18422

Strainer

SN: 11609-UP

1шт.

9

22U-60-21520

Breather

SN: 11627-UP

1шт.

10

421-60-35170

Element

SN: 11627-UP

1шт.

11

421-60-35180

Cover

SN: 11627-UP

1шт.

12

421-60-35190

Nut

SN: 11627-UP

1шт.

13

154-04-72220

Adapter

SN: 11627-UP

1шт.

14

363-60-21310

Plug

SN: 11627-UP

2шт.

15

07002-15234

O-ring

SN: 11627-UP

2шт.

16

07040-13016

Plug

SN: 11627-UP

1шт.

17

07002-13034

O-ring

SN: 11627-UP

1шт.

18

02781-00311

Union

SN: 11609-UP

2шт.

19

07002-11423

O-ring

SN: 11609-UP

2шт.

20

02896-11009

O-ring

SN: 11609-UP

2шт.

21

21N-64-36520

Elbow

SN: 11609-UP

2шт.

22

02896-11012

O-ring

SN: 11609-UP

2шт.

23

154-04-75190

Bracket

SN: 11609-UP

1шт.

24

01010-81230

Bolt

SN: 11609-UP

2шт.

25

01643-31232

Washer

SN: 11609-UP

2шт.

25

07058-20000

Filter Assembly

SN: 11609-UP

1шт.

26

07058-00001

Case

SN: 11609-UP

1шт.

27

07002-04234

O-ring

SN: 11609-UP

1шт.

28

07058-00010

Element Assembly

SN: 11609-UP

1шт.

29

01010-80830

Bolt

SN: 11609-UP

2шт.

30

01643-30823

Washer

SN: 11609-UP

2шт.

31

07325-10400

Nipple

SN: 11609-UP

1шт.

32

07700-40240

Valve

SN: 11609-UP

1шт.

33

154-04-11540

Nipple

SN: 11609-UP

1шт.

34

07700-40460

Valve, Fuel Drain

SN: 11609-UP

1шт.

35

570-61-16210

Nipple

SN: 11609-UP

1шт.

36

02783-10522

Elbow

SN: 11609-UP

1шт.

37

02896-11015

O-ring

SN: 11609-UP

1шт.

38

02762-00404

Hose, Face Seal Type

SN: 11609-UP

1шт.

39

07270-21065

Tube

SN: 11609-UP

1шт.

40

07281-00167

Clamp

SN: 11609-UP

2шт.

41

04434-51512

Clip

SN: 11609-UP

1шт.

42

01011-81210

Bolt

SN: 11609-UP

1шт.

43

01643-31232

Washer

SN: 11609-UP

1шт.

44

581-60-17860

Spacer

SN: 11609-UP

1шт.

45

154-04-71380

Elbow

SN: 11609-UP

1шт.

46

02896-11012

O-ring

SN: 11609-UP

2шт.

47

02762-004A4

Hose, Face Seal Type

SN: 11609-UP

1шт.

48

07285-00115

Clip

SN: 11609-UP

1шт.

49

07270-01055

Tube

SN: 11609-UP

1шт.

50

17A-04-11191

Plate

SN: 11609-UP

6шт.

51

01010-81675

Bolt

SN: 11609-UP

6шт.

52

01643-31645

Washer

SN: 11609-UP

6шт.

53

195-54-42560

Boss

SN: 11609-UP

6шт.

54

17A-04-41440

Lock

SN: UP

-1шт.

Выбрано товаров: 0