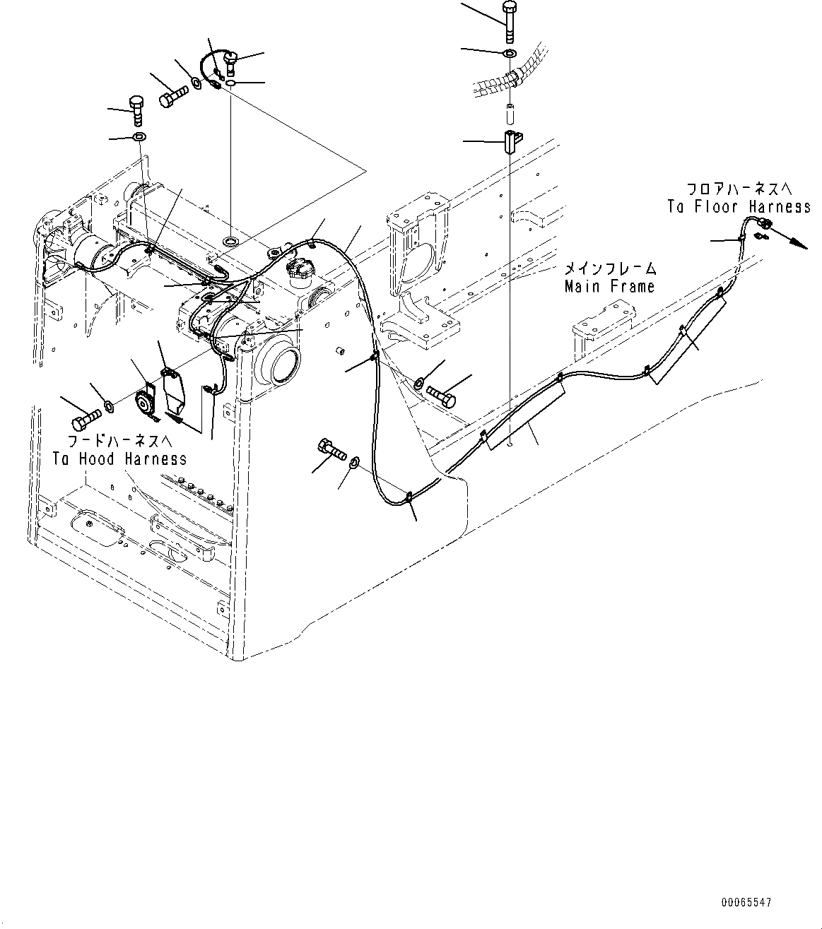
Запчасти Komatsu D85EX-15E0 ЗАЩИТА РАДИАТОРА, ПРОВОДКА И КОРПУС (№9-) ЗАЩИТА РАДИАТОРА, БЕЗ РАДИАТОР КРЫШКА ПРОТЕКТОР

Схема запчастей Komatsu D85EX-15E0 - ЗАЩИТА РАДИАТОРА, ПРОВОДКА И КОРПУС (№9-) ЗАЩИТА РАДИАТОРА, БЕЗ РАДИАТОР КРЫШКА ПРОТЕКТОР
5
5
5
2
2
18
17
15
14
12
11
10
7
6
5
4
3
2
1
8
9
5
19
5
21
22
23
20
13
16
FIT
1:1
100%

Артикул

Название

Примечание

Количество

1

154-06-74282

Wiring Harness

SN: 11609-UP

1шт.

2

04434-51012

Clip

SN: 11609-UP

4шт.

3

01010-81230

Bolt

SN: 11609-UP

4шт.

4

01643-31232

Washer

SN: 11609-UP

4шт.

5

04434-51412

Clip

SN: 11609-UP

14шт.

6

01010-81230

Bolt

SN: 11609-UP

10шт.

7

01643-31232

Washer

SN: 11609-UP

10шт.

8

01010-81220

Bolt

SN: 11609-UP

3шт.

9

01643-31232

Washer

SN: 11609-UP

3шт.

10

08193-21012

Clip

SN: 11609-UP

1шт.

11

01010-81230

Bolt

SN: 11609-UP

1шт.

12

01643-31232

Washer

SN: 11609-UP

1шт.

13

19M-06-18220

Horn

SN: 11609-UP

1шт.

14

01010-80825

Bolt

SN: 11609-UP

2шт.

15

01643-30823

Washer

SN: 11609-UP

2шт.

16

11Y-06-11731

Bracket

SN: 11609-UP

1шт.

17

7861-93-4520

Sensor,Water Level

SN: 11609-UP

1шт.

18

07002-13634

O-ring

SN: 11609-UP

1шт.

19

08034-20519

Band

SN: 11609-UP

1шт.

20

04434-51008

Clip

SN: 11609-UP

1шт.

21

154-911-7690

Spacer

SN: 11609-UP

1шт.

22

01011-81215

Bolt

SN: 11609-UP

1шт.

23

01643-31232

Washer

SN: 11609-UP

1шт.

Выбрано товаров: 23