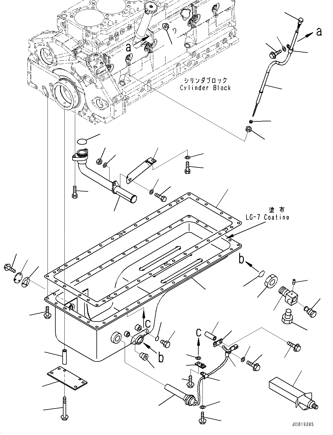
Запчасти Komatsu SAA6D125E-5C ПОДДОН ДВИГ-ЛЯ (№7-) ПОДДОН ДВИГ-ЛЯ, МОРОЗОУСТОЙЧИВ. СПЕЦИФ-Я (-DEG C)

Схема запчастей Komatsu SAA6D125E-5C - ПОДДОН ДВИГ-ЛЯ (№7-) ПОДДОН ДВИГ-ЛЯ, МОРОЗОУСТОЙЧИВ. СПЕЦИФ-Я (-DEG C)
24
26
19
23
20
21
30
34
29
27
22
36
35
33
31
28
32
12
9
7
8
43
43
44
45
40
1
38
42
11
10
41
38
39
44
45
37
6
4
5
3
18
17
13
15
14
16
46
2
25
24
26
19
23
20
21
30
34
29
27
22
36
35
33
31
28
32
12
9
7
8
43
43
44
45
40
1
38
42
11
10
41
38
39
44
45
37
6
4
5
3
18
17
13
15
14
16
46
2
25
FIT
1:1
100%

Артикул

Название

Примечание

Количество

1

6150-21-5560

Oil Pan

SN: 567144-UP

1шт.

2

6150-21-5813

Gasket

SN: 567144-UP

1шт.

3

01435-01025

Bolt

SN: 567144-UP

33шт.

4

6151-62-6320

Plate

SN: 567144-UP

1шт.

5

154-01-72170

Collar

SN: 567144-UP

2шт.

6

01436-01010

Bolt

SN: 567144-UP

2шт.

7

6136-21-5770

Plate

SN: 567144-UP

1шт.

8

6136-21-5870

Gasket

SN: 567144-UP

1шт.

9

01435-00612

Bolt

SN: 567144-UP

3шт.

10

6202-63-1250

Bolt

SN: 567144-UP

1шт.

11

07005-01612

Seal, Washer

SN: 567144-UP

1шт.

12

07043-50312

Plug, Taper

SN: 567144-UP

1шт.

|$12

6156-21-5600

Valve Assembly

SN: 567144-UP

1шт.

13

6156-21-5610

Body, Valve

SN: 567144-UP

1шт.

14

6693-22-5620

Valve

SN: 567144-UP

1шт.

15

07040-02412

Plug

SN: 567144-UP

1шт.

16

6156-21-5620

Pin

SN: 567144-UP

1шт.

17

01583-13621

Nut

SN: 567144-UP

1шт.

18

07002-23634

O-ring

SN: 567144-UP

1шт.

19

6251-21-5310

Gauge, Oil Lever

SN: 567144-UP

1шт.

20

6251-21-5540

Guide, Oil Gauge

SN: 567144-UP

1шт.

21

6150-21-5920

Collar

SN: 567144-UP

1шт.

22

6150-21-5930

Nut

SN: 567144-UP

1шт.

23

600-051-6120

Clip

SN: 567144-UP

1шт.

24

01435-01030

Bolt

SN: 567144-UP

1шт.

25

01584-01008

Nut

SN: 567144-UP

1шт.

26

01643-31032

Washer

SN: 567144-UP

1шт.

27

6150-51-6330

Strainer

SN: 567144-UP

1шт.

28

07000-73045

O-ring

SN: 567144-UP

1шт.

29

01010-81035

Bolt

SN: 567144-UP

2шт.

30

6150-51-6340

Bracket

SN: 567144-UP

1шт.

31

01010-81020

Bolt

SN: 567144-UP

1шт.

32

01643-31032

Washer

SN: 567144-UP

1шт.

33

01010-81030

Bolt

SN: 567144-UP

1шт.

34

01643-31032

Washer

SN: 567144-UP

1шт.

35

01580-01008

Nut

SN: 567144-UP

1шт.

36

01643-31032

Washer

SN: 567144-UP

1шт.

37

600-815-9250

Heater

SN: 567144-UP

1шт.

38

426-01-11310

Bracket

SN: 567144-UP

2шт.

39

01435-01030

Bolt

SN: 567144-UP

1шт.

40

01435-01080

Bolt

SN: 567144-UP

1шт.

41

01643-31032

Washer

SN: 567144-UP

1шт.

42

6112-23-6971

Spacer

SN: 567144-UP

1шт.

43

600-051-2080

Clip

SN: 567144-UP

2шт.

44

01435-01020

Bolt

SN: 567144-UP

2шт.

45

01643-31032

Washer

SN: 567144-UP

2шт.

46

09920-00150

Liquid gasket, LG-7, 150G

SN: 567144-UP

-2шт.

1

6150-21-5560

Oil Pan

SN: 567144-UP

1шт.

2

6150-21-5813

Gasket

SN: 567144-UP

1шт.

3

01435-01025

Bolt

SN: 567144-UP

33шт.

4

6151-62-6320

Plate

SN: 567144-UP

1шт.

5

154-01-72170

Collar

SN: 567144-UP

2шт.

6

01436-01010

Bolt

SN: 567144-UP

2шт.

7

6136-21-5770

Plate

SN: 567144-UP

1шт.

8

6136-21-5870

Gasket

SN: 567144-UP

1шт.

9

01435-00612

Bolt

SN: 567144-UP

3шт.

10

6202-63-1250

Bolt

SN: 567144-UP

1шт.

11

07005-01612

Seal, Washer

SN: 567144-UP

1шт.

12

07043-50312

Plug, Taper

SN: 567144-UP

1шт.

|$12

6156-21-5600

Valve Assembly

SN: 567144-UP

1шт.

13

6156-21-5610

Body, Valve

SN: 567144-UP

1шт.

14

6693-22-5620

Valve

SN: 567144-UP

1шт.

15

07040-02412

Plug

SN: 567144-UP

1шт.

16

6156-21-5620

Pin

SN: 567144-UP

1шт.

17

01583-13621

Nut

SN: 567144-UP

1шт.

18

07002-23634

O-ring

SN: 567144-UP

1шт.

19

6251-21-5310

Gauge, Oil Lever

SN: 567144-UP

1шт.

20

6251-21-5540

Guide, Oil Gauge

SN: 567144-UP

1шт.

21

6150-21-5920

Collar

SN: 567144-UP

1шт.

22

6150-21-5930

Nut

SN: 567144-UP

1шт.

23

600-051-6120

Clip

SN: 567144-UP

1шт.

24

01435-01030

Bolt

SN: 567144-UP

1шт.

25

01584-01008

Nut

SN: 567144-UP

1шт.

26

01643-31032

Washer

SN: 567144-UP

1шт.

27

6150-51-6330

Strainer

SN: 567144-UP

1шт.

28

07000-73045

O-ring

SN: 567144-UP

1шт.

29

01010-81035

Bolt

SN: 567144-UP

2шт.

30

6150-51-6340

Bracket

SN: 567144-UP

1шт.

31

01010-81020

Bolt

SN: 567144-UP

1шт.

32

01643-31032

Washer

SN: 567144-UP

1шт.

33

01010-81030

Bolt

SN: 567144-UP

1шт.

34

01643-31032

Washer

SN: 567144-UP

1шт.

35

01580-01008

Nut

SN: 567144-UP

1шт.

36

01643-31032

Washer

SN: 567144-UP

1шт.

37

600-815-9250

Heater

SN: 567144-UP

1шт.

38

426-01-11310

Bracket

SN: 567144-UP

2шт.

39

01435-01030

Bolt

SN: 567144-UP

1шт.

40

01435-01080

Bolt

SN: 567144-UP

1шт.

41

01643-31032

Washer

SN: 567144-UP

1шт.

42

6112-23-6971

Spacer

SN: 567144-UP

1шт.

43

600-051-2080

Clip

SN: 567144-UP

2шт.

44

01435-01020

Bolt

SN: 567144-UP

2шт.

45

01643-31032

Washer

SN: 567144-UP

2шт.

46

09920-00150

Liquid gasket, LG-7, 150G

SN: 567144-UP

-2шт.

Выбрано товаров: 94