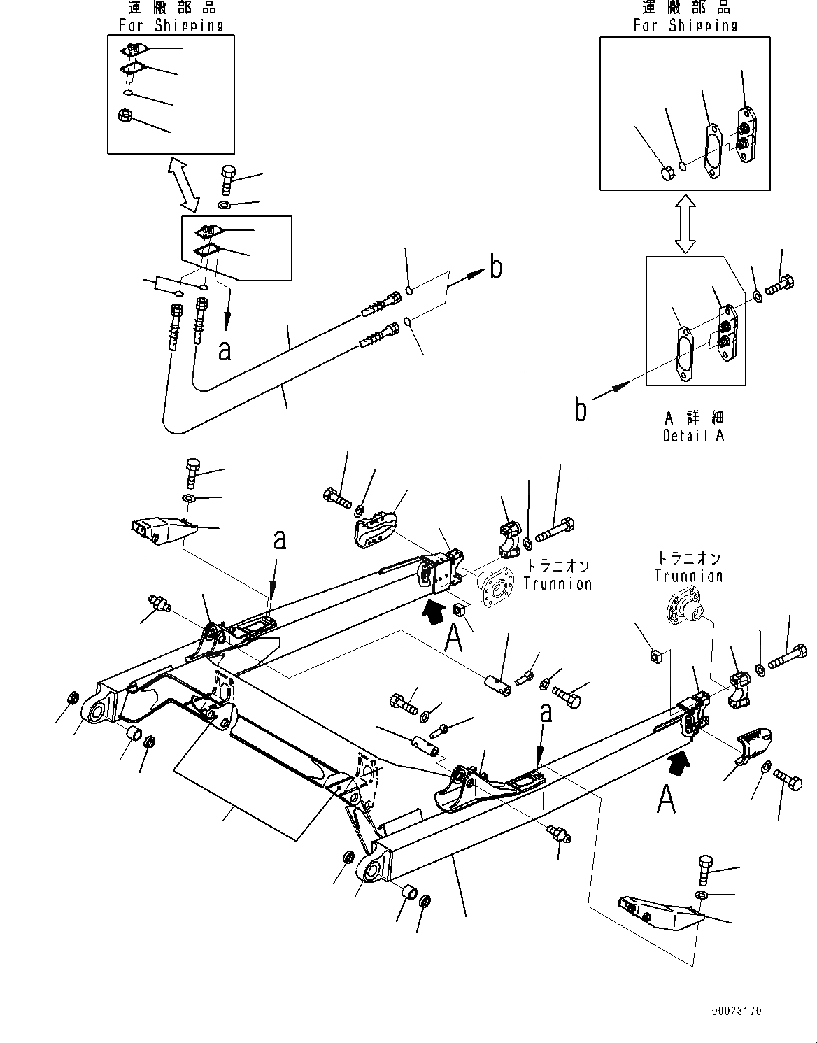
Запчасти Komatsu D85EX-15R DOZER РАМА, РАМА И ПАЛЕЦ (№-) DOZER РАМА, ДЛЯ TОБОД КОЛЕСАMING DOZER

Схема запчастей Komatsu D85EX-15R - DOZER РАМА, РАМА И ПАЛЕЦ (№-) DOZER РАМА, ДЛЯ TОБОД КОЛЕСАMING DOZER
34
35
8
7
33
32
31
30
17
16
15
14
13
8
6
4
3
2
12
5
17
7
3
8
10
8
36
37
38
1
27
26
25
23
24
22
22
25
24
29
28
41
39
40
16
13
14
15
11
9
2
10
11
9
23
23
12
20
21
18
19
18
19
29
28
FIT
1:1
100%

Артикул

Название

Примечание

Количество

1

154-922-7131

Frame

SN: 20003-UP

1шт.

2

Bracket,Welded

SN: 20003-UP

2шт.

3

154-922-3360

Bracket,Welded

SN: 20003-UP

2шт.

4

154-922-7141

Bracket,L.H.,Welded

SN: 20003-UP

1шт.

5

154-922-7151

Bracket,R.H.,Welded

SN: 20003-UP

1шт.

6

154-922-7220

Bracket,Welded

SN: 20003-UP

2шт.

7

154-922-1161

Bushing

SN: 20003-UP

2шт.

8

07145-00080

Seal, Dust

SN: 20003-UP

4шт.

9

17A-71-12280

Cap

SN: 20003-UP

2шт.

10

175-71-11491

Bolt

SN: 20003-UP

8шт.

11

01643-32260

Washer

SN: 20003-UP

8шт.

12

175-71-11520

Nut

SN: 20003-UP

8шт.

13

154-922-1191

Pin

SN: 20003-UP

2шт.

14

154-922-1210

Pin

SN: 20003-UP

2шт.

15

01010-81435

Bolt

SN: 20003-UP

2шт.

16

209-09-11340

Washer

SN: 20003-UP

2шт.

17

07020-00000

Fitting, Grease, Grease

SN: 20003-UP

2шт.

18

154-71-71820

Flange

SN: 20003-UP

2шт.

19

17A-71-12331

Gasket

SN: 20003-UP

2шт.

20

01010-81225

Bolt

SN: 20003-UP

4шт.

21

01643-31232

Washer

SN: 20003-UP

4шт.

22

154-922-7230

Hose

SN: 20003-UP

4шт.

23

02896-11012

O-ring

SN: 20003-UP

8шт.

24

154-71-71840

Flange

SN: 20003-UP

2шт.

25

154-71-71850

Gasket

SN: 20003-UP

2шт.

26

01010-81225

Bolt

SN: 20003-UP

8шт.

27

01643-31232

Washer

SN: 20003-UP

8шт.

28

02789-00422

Plug

SN: 20003-UP

8шт.

29

02896-11012

O-ring

SN: 20003-UP

8шт.

30

17A-71-12291

Cover

SN: 20003-UP

1шт.

31

01010-82050

Bolt

SN: 20003-UP

6шт.

32

01643-32060

Washer

SN: 20003-UP

6шт.

33

154-922-7172

Cover,L.H.

SN: 20003-UP

1шт.

34

01010-81635

Bolt

SN: 20003-UP

4шт.

35

01643-31645

Washer

SN: 20003-UP

4шт.

36

17A-71-12291

Cover

SN: 20003-UP

1шт.

37

01010-82050

Bolt

SN: 20003-UP

6шт.

38

01643-32060

Washer

SN: 20003-UP

6шт.

39

154-922-7182

Cover,R.H.

SN: 20003-UP

1шт.

40

01010-81635

Bolt

SN: 20003-UP

4шт.

41

01643-31645

Washer

SN: 20003-UP

4шт.

Выбрано товаров: 41