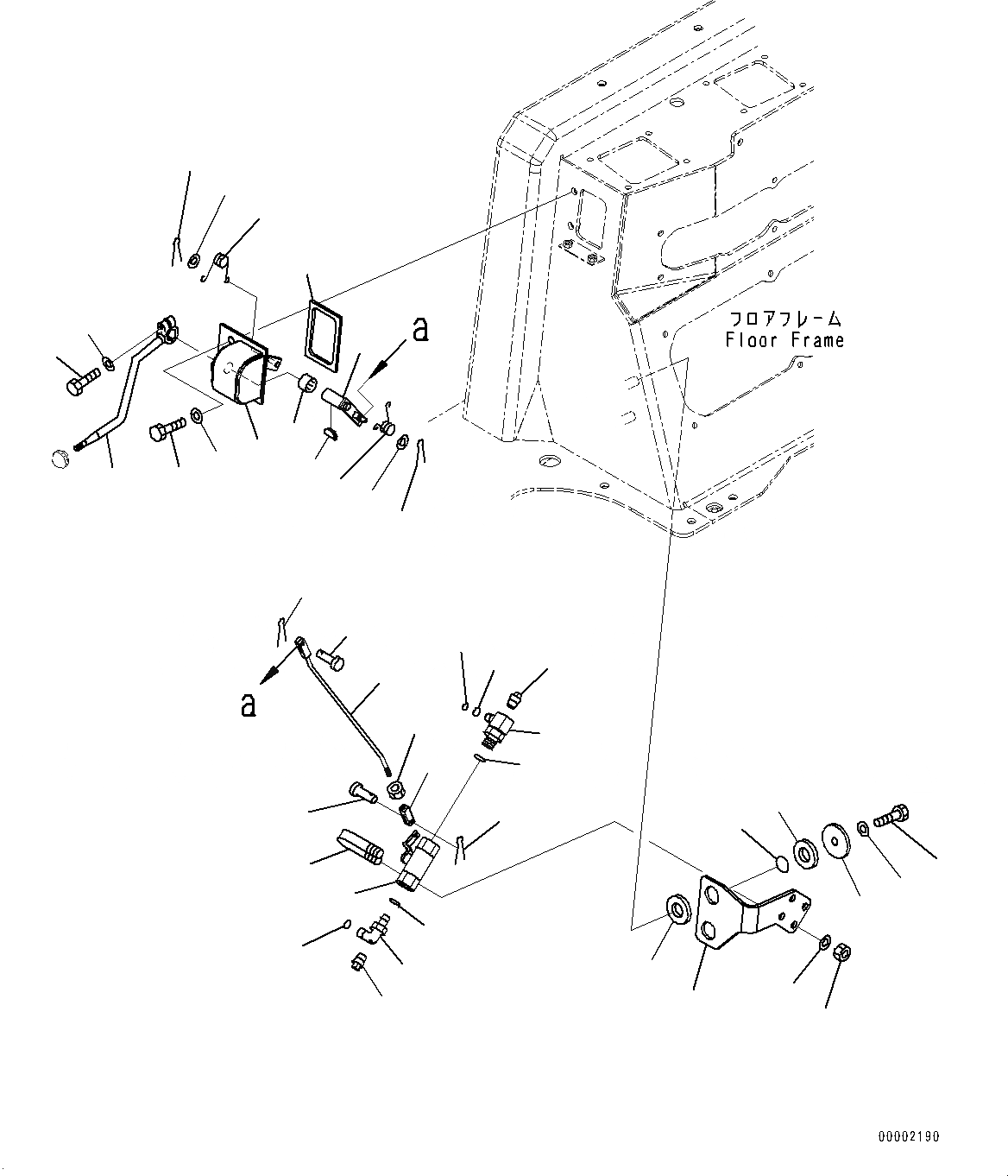
Запчасти Komatsu D85EX-15R ОСНОВН. КОНСТРУКЦИЯ, РЫЧАГ БЛОКИРОВКИ ОТВАЛА (№-) ОСНОВН. КОНСТРУКЦИЯ, С РЕГУЛИР. МНОГОСТОЕЧН. РЫХЛИТ.

Схема запчастей Komatsu D85EX-15R - ОСНОВН. КОНСТРУКЦИЯ, РЫЧАГ БЛОКИРОВКИ ОТВАЛА (№-) ОСНОВН. КОНСТРУКЦИЯ, С РЕГУЛИР. МНОГОСТОЕЧН. РЫХЛИТ.
26
27
29
8
9
19
18
12
4
1
11
3
5
7
6
12
11
10
2
34
27
36
34
22
31
35
30
32
28
25
23
24
16
38
14
13
21
28
15
17
37
20
33
FIT
1:1
100%

Артикул

Название

Примечание

Количество

1

17A-43-15340

Bracket

SN: 20003-UP

1шт.

2

17A-43-15190

Sheet

SN: 20003-UP

1шт.

3

06124-02020

Bearing

SN: 20003-UP

1шт.

4

154-43-72440

Lever

SN: 20003-UP

1шт.

5

04010-00516

Key

SN: 20003-UP

1шт.

6

01010-80830

Bolt

SN: 20003-UP

1шт.

7

01643-30823

Washer

SN: 20003-UP

1шт.

8

17A-43-25460

Lever

SN: 20003-UP

1шт.

9

09463-00002

Spring

SN: 20003-UP

1шт.

10

09463-00006

Spring

SN: 20003-UP

1шт.

11

01641-20608

Washer

SN: 20003-UP

2шт.

12

04050-11612

Pin, Cotter

SN: 20003-UP

2шт.

13

14X-43-14441

Rod

SN: 20003-UP

1шт.

14

04211-20634

Yoke

SN: 20003-UP

1шт.

15

01580-10605

Nut

SN: 20003-UP

1шт.

16

04205-10618

Pin

SN: 20003-UP

1шт.

17

04050-11612

Pin, Cotter

SN: 20003-UP

1шт.

18

01010-81030

Bolt

SN: 20003-UP

2шт.

19

01643-31032

Washer

SN: 20003-UP

2шт.

20

04205-10618

Pin

SN: 20003-UP

1шт.

21

04050-11612

Pin, Cotter

SN: 20003-UP

1шт.

22

154-43-73330

Bracket

SN: 20003-UP

1шт.

23

20Y-62-15651

Valve

SN: 20003-UP

1шт.

24

14X-43-14830

Elbow

SN: 20003-UP

1шт.

25

201-60-11390

O-ring

SN: 20003-UP

1шт.

26

20Y-62-19560

O-ring

SN: 20003-UP

1шт.

27

07042-30108

Plug

SN: 20003-UP

2шт.

28

07002-02034

O-ring

SN: 20003-UP

2шт.

29

07283-23442

Clip

SN: 20003-UP

2шт.

30

01599-01011

Nut

SN: 20003-UP

4шт.

31

01643-31032

Washer

SN: 20003-UP

4шт.

32

02782-10315

Elbow

SN: 20003-UP

1шт.

33

02896-11009

O-ring

SN: 20003-UP

1шт.

34

14X-60-12120

Cushion

SN: 20003-UP

4шт.

35

20Y-03-11210

Plate

SN: 20003-UP

2шт.

36

07000-13025

O-ring

SN: 20003-UP

2шт.

37

01010-81230

Bolt

SN: 20003-UP

2шт.

38

01643-31232

Washer

SN: 20003-UP

2шт.

Выбрано товаров: 38