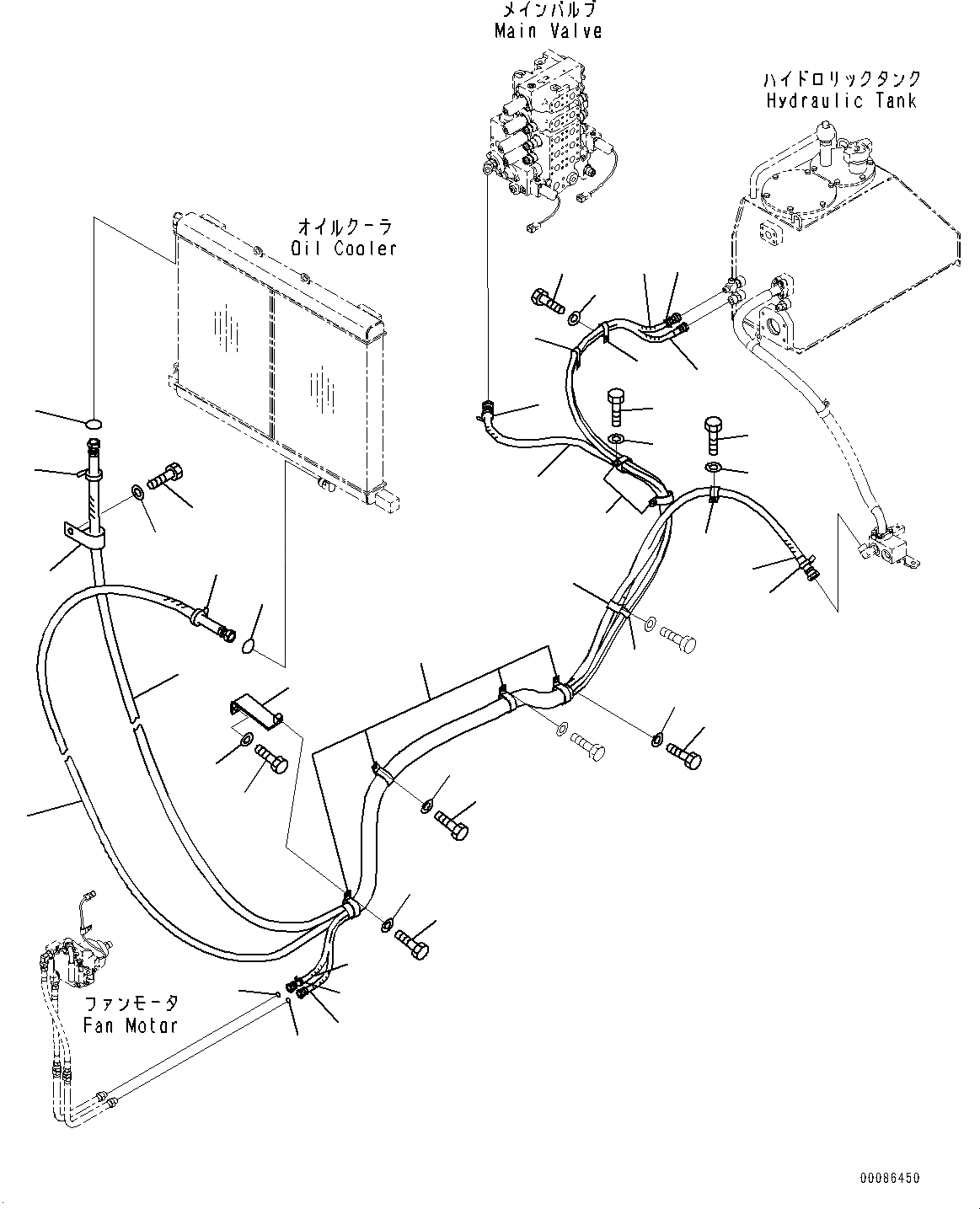
Запчасти Komatsu D85MS-15 ЛИНИИ МАСЛООХЛАДИТЕЛЯ, ВОЗВРАТ. ТРУБЫ, МАСЛООХЛАДИТЕЛЬ (№-) ЛИНИИ МАСЛООХЛАДИТЕЛЯ

Схема запчастей Komatsu D85MS-15 - ЛИНИИ МАСЛООХЛАДИТЕЛЯ, ВОЗВРАТ. ТРУБЫ, МАСЛООХЛАДИТЕЛЬ (№-) ЛИНИИ МАСЛООХЛАДИТЕЛЯ
1
2
3
4
5
6
7
8
9
10
11
15
16
17
18
19
20
21
22
23
24
25
26
27
28
3
23
14
13
12
19
18
6
8
2
1
7
19
18
3
5
3
4
FIT
1:1
100%

Артикул

Название

Примечание

Количество

1

02762-00637

Hose

SN: 1006-UP

1шт.

2

02762-00640

Hose, Face Seal Type

SN: 1006-UP

1шт.

3

02762-00444

Hose, Face Seal Type

SN: 1006-UP

2шт.

4

20Y-62-22810

Band, Yellow

SN: 1006-UP

2шт.

5

20Y-62-22820

Band, Blue

SN: 1006-UP

2шт.

6

20Y-62-22840

Band, Black

SN: 1006-UP

2шт.

7

02896-11012

O-ring

SN: 1006-UP

2шт.

8

02896-11018

O-ring

SN: 1006-UP

2шт.

9

20Y-62-15950

Clip

SN: 1006-UP

2шт.

10

01010-81230

Bolt

SN: 1006-UP

2шт.

11

01643-31232

Washer

SN: 1006-UP

2шт.

12

04434-52512

Clip

SN: 1006-UP

1шт.

13

01010-81230

Bolt

SN: 1006-UP

1шт.

14

01643-31232

Washer

SN: 1006-UP

1шт.

15

04435-52512

Clip

SN: 1006-UP

1шт.

16

04435-52512

Clip

SN: 1006-UP

1шт.

17

20Y-62-15960

Clip

SN: 1006-UP

4шт.

18

01010-81230

Bolt

SN: 1006-UP

3шт.

19

01643-31232

Washer

SN: 1006-UP

3шт.

20

154-03-71990

Bracket

SN: 1006-UP

1шт.

21

01010-81230

Bolt

SN: 1006-UP

2шт.

22

01643-31232

Washer

SN: 1006-UP

2шт.

23

20Y-62-17930

Clip

SN: 1006-UP

2шт.

24

01010-81230

Bolt

SN: 1006-UP

1шт.

25

01643-31232

Washer

SN: 1006-UP

1шт.

26

04434-52512

Clip

SN: 1006-UP

1шт.

27

01010-81230

Bolt

SN: 1006-UP

1шт.

28

01643-31232

Washer

SN: 1006-UP

1шт.

Выбрано товаров: 28