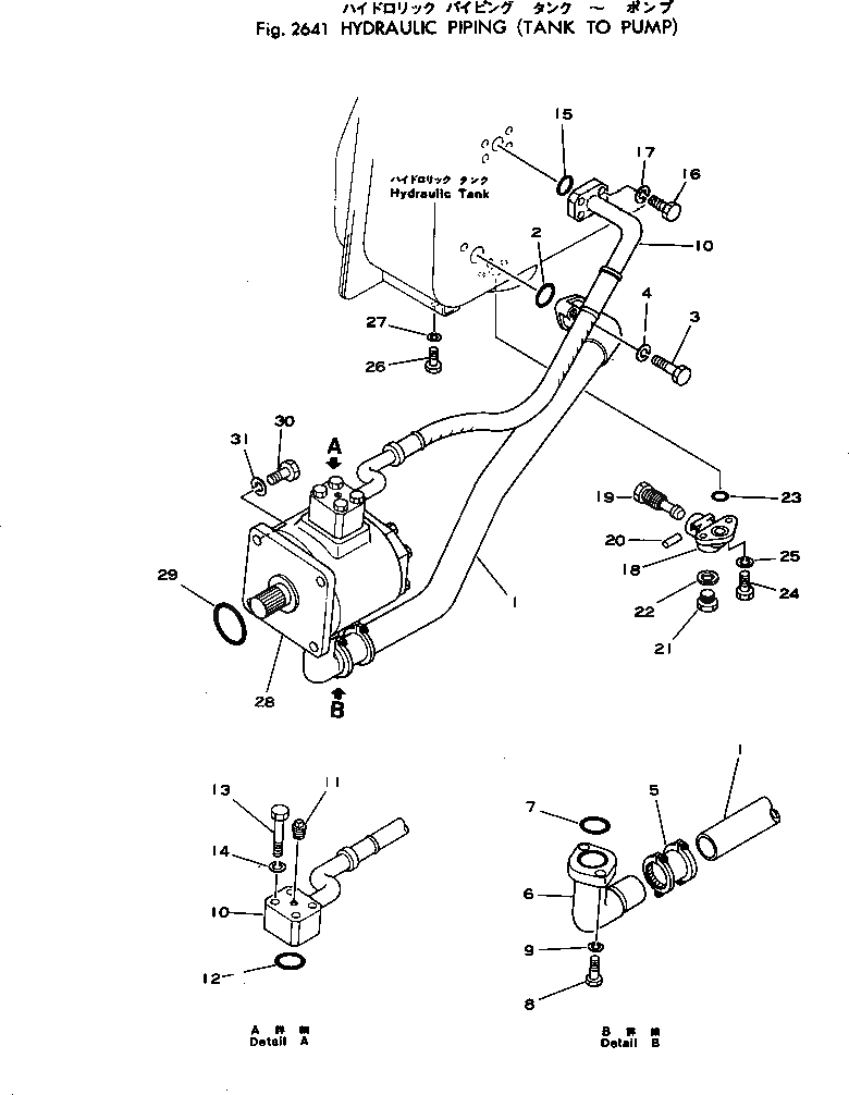
Запчасти Komatsu D85P-18 ГИДРОЛИНИЯ (ИЗ БАКА В НАСОС) УПРАВЛ-Е РАБОЧИМ ОБОРУДОВАНИЕМ

Схема запчастей Komatsu D85P-18 - ГИДРОЛИНИЯ (ИЗ БАКА В НАСОС) УПРАВЛ-Е РАБОЧИМ ОБОРУДОВАНИЕМ
FIT
1:1
100%

Артикул

Название

Примечание

Количество

1

154-60-21113

TUBE

SN: 2001-UP

1шт.

2

07000-02075

O-RING

SN: 2001-UP

1шт.

3

01011-51415

BOLT

SN: 2001-UP

2шт.

4

01643-31445

WASHER

SN: 2312-UP

2шт.

4

0

WASHER,SPRING

SN: 2001-2311

2шт.

|$5

07332-02000

COUPLING

SN: 2001-UP

1шт.

5

07332-52000

GASKET

SN: 2001-UP

2шт.

5

07332-62000

CLAMP

SN: 2001-UP

2шт.

6

154-60-21142

TUBE

SN: 2001-UP

1шт.

7

07000-02070

O-RING

SN: 2001-UP

1шт.

8

01010-51245

BOLT

SN: 2001-UP

2шт.

9

01602-21236

WASHER

SN: 2001-UP

2шт.

10

154-60-21422

HOSE

SN: 2001-UP

1шт.

11

07042-20108

PLUG

SN: 2001-UP

1шт.

12

07000-13042

O-RING

SN: 2001-UP

1шт.

13

01010-51075

BOLT

SN: 2001-UP

4шт.

14

01602-21030

WASHER,SPRING

SN: 2001-UP

4шт.

15

07000-13048

O-RING

SN: 2001-UP

1шт.

16

01010-51250

BOLT

SN: 2001-UP

4шт.

17

01602-21236

WASHER,SPRING

SN: 2001-UP

4шт.

|$20

155-60-12500

VALVE ASS'Y

SN: 2001-UP

1шт.

18

155-60-12510

BODY

SN: 2001-UP

1шт.

19

155-60-12520

VALVE

SN: 2001-UP

1шт.

20

04025-00532

PIN,SPRING

SN: 2001-UP

1шт.

21

07040-12412

PLUG

SN: 2001-UP

1шт.

22

07005-02416

GASKET

SN: 2001-UP

1шт.

23

07000-03025

O-RING

SN: 2001-UP

1шт.

24

01010-51025

BOLT

SN: 2001-UP

2шт.

25

01602-21030

WASHER,SPRING

SN: 2001-UP

2шт.

26

01010-51640

BOLT

SN: 2001-UP

4шт.

27

01602-21648

WASHER,SPRING

SN: 2001-UP

4шт.

28

07444-66200

HYDRAULIC PUMP A.

SN: 2579-UP

1шт.

28

0

HYDRAULIC PUMP A.

SN: 2216-2578

1шт.

28

0

HYDRAULIC PUMP A.

SN: 2001-2215

1шт.

29

07000-03078

O-RING

SN: 2001-UP

1шт.

30

01010-51245

BOLT

SN: 2001-UP

4шт.

31

01602-21236

WASHER,SPRING

SN: 2001-UP

4шт.

Выбрано товаров: 37