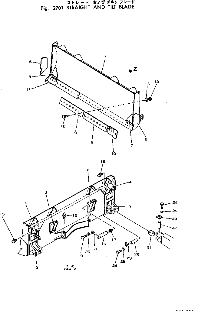
Запчасти Komatsu D85P-18 ПРЯМОЙ ОТВАЛ С ПЕРЕКОСОМ РАБОЧЕЕ ОБОРУДОВАНИЕ

Схема запчастей Komatsu D85P-18 - ПРЯМОЙ ОТВАЛ С ПЕРЕКОСОМ РАБОЧЕЕ ОБОРУДОВАНИЕ
FIT
1:1
100%

Артикул

Название

Примечание

Количество

1

154-929-3111

BLADE

SN: 2001-UP

1шт.

2

154-71-22162

BRACKET (WELDED)

SN: 2001-UP

2шт.

3

154-929-1120

BRACKET (WELDED)

SN: 1007-UP

2шт.

4

154-71-31142

PIVOT (WELDED)

SN: 1007-UP

2шт.

5

154-929-2130

PLATE,L.H. (WELDED)

SN: 2001-UP

1шт.

6

154-929-2140

PLATE,R.H. (WELDED)

SN: 2001-UP

1шт.

7

154-929-2150

PLATE,L.H. (WELDED)

SN: 2001-UP

1шт.

8

154-929-2160

PLATE,R.H. (WELDED)

SN: 2001-UP

1шт.

9

154-70-11314

EDGE

SN: 1007-UP

3шт.

10

150-70-21356

BIT

SN: 1007-UP

1шт.

11

150-70-21346

BIT

SN: 1007-UP

1шт.

12

154-70-11142

BOLT

SN: 1007-UP

36шт.

13

154-70-22270

NUT

SN: 1007-UP

36шт.

14

01643-31845

WASHER

SN: 1007-UP

36шт.

15

07020-00000

FITTING

SN: 1001-UP

4шт.

16

154-71-22511

SHAFT

SN: 1001-UP

2шт.

17

07020-00000

FITTING

SN: 1001-UP

2шт.

18

195-71-11520

PIN

SN: 1001-UP

2шт.

19

01010-31435

BOLT

SN: 1001-UP

2шт.

20

01643-31445

WASHER

SN: 2001-UP

2шт.

21

154-71-22261

JOINT

SN: 1007-UP

2шт.

22

154-71-22470

PIN

SN: 1001-UP

4шт.

23

175-71-21330

PLATE

SN: 1001-UP

4шт.

24

01010-31435

BOLT

SN: 1001-UP

16шт.

25

01643-31445

WASHER

SN: 1001-UP

16шт.

Выбрано товаров: 25