Запчасти Komatsu D85P-18 НАВЕС(№-) ОПЦИОННЫЕ КОМПОНЕНТЫ

Схема запчастей Komatsu D85P-18 - НАВЕС(№-) ОПЦИОННЫЕ КОМПОНЕНТЫ
FIT
1:1
100%

Артикул

Название

Примечание

Количество

|$0

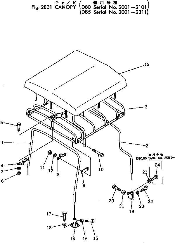
154-906-0021

CANOPY ASS'Y

SN: 2051-2311

1шт.

|$1

154-906-0020

CANOPY ASS'Y

SN: 2001-2050

1шт.

1

154-906-1160

POLE

SN: 2001-@

1шт.

2

175-906-2121

POLE

SN: 2001-@

1шт.

3

195-906-1162

ROOF

SN: 2001-@

1шт.

4

195-906-1141

CLAMP

SN: 2001-@

2шт.

5

01010-31245

BOLT

SN: 2001-@

4шт.

6

01580-01210

NUT

SN: 2001-@

4шт.

7

01602-01236

WASHER,SPRING

SN: 2001-@

4шт.

8

195-906-1141

CLAMP

SN: 2001-@

4шт.

9

195-906-1260

SHIM, 2.3MM

SN: 2001-@

12шт.

10

01010-31260

BOLT

SN: 2001-@

8шт.

11

01580-01210

NUT

SN: 2001-@

8шт.

12

01602-01236

WASHER,SPRING

SN: 2001-@

8шт.

13

195-906-1171

SHEET

SN: 2001-2311

1шт.

14

09470-06420

BRACKET

SN: 2001-@

2шт.

15

01016-31450

BOLT

SN: 2001-@

4шт.

16

01580-01411

NUT

SN: 2001-@

4шт.

17

01010-31440

BOLT

SN: 2001-@

8шт.

18

01643-31445

WASHER

SN: 2312-@

8шт.

18

0

WASHER,SPRING

SN: 2001-2311

8шт.

19

09470-06425

BRACKET

SN: 2001-@

2шт.

20

01016-31450

BOLT

SN: 2001-@

4шт.

21

01580-01411

NUT

SN: 2001-@

4шт.

22

01010-31860

BOLT

SN: 2051-@

4шт.

22

01010-31870

BOLT

SN: 2001-2050

8шт.

23

01643-31845

WASHER

SN: 2312-@

8шт.

23

0

WASHER,SPRING

SN: 2001-2311

8шт.

24

01010-31850

BOLT

SN: 2001-@

4шт.

Выбрано товаров: 29