Запчасти Komatsu D85P-18 ГУСЕНИЧНАЯ РАМА ГУСЕНИЦЫ

Схема запчастей Komatsu D85P-18 - ГУСЕНИЧНАЯ РАМА ГУСЕНИЦЫ
FIT
1:1
100%

Артикул

Название

Примечание

Количество

|$0

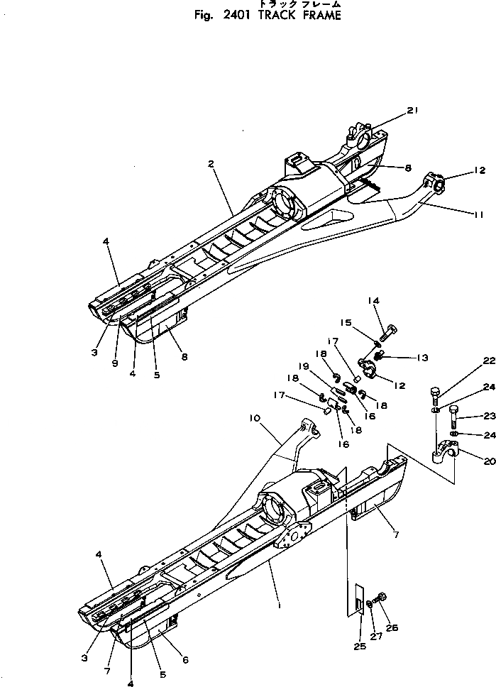
154-30-00605

TRACK FRAME ASS'Y,L.H.

SN: 2051-UP

1шт.

|$1

0

TRACK FRAME ASS'Y,L.H.

SN: 2001-2050

1шт.

|$2

154-30-00705

TRACK FRAME ASS'Y,R.H.

SN: 2001-UP

1шт.

|$3

0

TRACK FRAME ASS'Y,R.H.

SN: 2001-2050

1шт.

1

154-30-13381

FRAME,L.H.

SN: 2001-UP

1шт.

2

154-30-13391

FRAME,R.H.

SN: 2001-UP

1шт.

3

155-30-11390

PLATE (WELDED)

SN: 2001-UP

2шт.

4

154-30-12590

PLATE (WELDED)

SN: 2001-UP

2шт.

5

154-30-12310

PLATE (WELDED)

SN: 1001-UP

2шт.

6

154-30-11927

GUARD (WELDED)

SN: 2001-UP

1шт.

7

154-30-11937

GUARD (WELDED)

SN: 2001-UP

2шт.

8

154-30-11927

GUARD (WELDED)

SN: 2001-UP

2шт.

9

154-30-11937

GUARD (WELDED)

SN: 2001-UP

1шт.

|$13

155-30-00012

BRACE HEAD ASS'Y,L.H.

SN: 2001-UP

1шт.

|$14

155-30-00022

BRACE HEAD ASS'Y,R.H.

SN: 2001-UP

1шт.

10

0

HEAD,L.H.

SN: 2001-UP

1шт.

11

0

HEAD,R.H.

SN: 2001-UP

1шт.

12

0

CAP

SN: 2001-UP

1шт.

13

07020-00000

FITTING

SN: 1001-UP

1шт.

14

01011-32400

BOLT

SN: 1001-UP

1шт.

15

01602-02472

WASHER

SN: 1001-UP

4шт.

16

154-30-11810

BUSHING

SN: 1001-UP

2шт.

17

04020-01024

PIN

SN: 1001-UP

2шт.

18

154-30-11821

PACKING

SN: 1001-UP

4шт.

19

154-30-11831

PACKING

SN: 1001-UP

2шт.

20

154-30-12530

CAP

SN: 2001-UP

1шт.

21

154-30-12540

CAP

SN: 2001-UP

1шт.

22

01011-32410

BOLT

SN: 2001-UP

1шт.

23

01011-32450

BOLT

SN: 2001-UP

1шт.

24

01602-02472

WASHER

SN: 2001-UP

2шт.

25

154-30-13480

PLATE

SN: 2051-UP

1шт.

26

01010-31240

BOLT

SN: 2051-UP

3шт.

27

01602-01236

WASHER

SN: 2051-UP

3шт.

Выбрано товаров: 33