Запчасти Komatsu D85P-21-E ПАНЕЛЬ МОНИТОРА КАБИНА ОПЕРАТОРА И СИСТЕМА УПРАВЛЕНИЯ

Схема запчастей Komatsu D85P-21-E - ПАНЕЛЬ МОНИТОРА КАБИНА ОПЕРАТОРА И СИСТЕМА УПРАВЛЕНИЯ
FIT
1:1
100%

Артикул

Название

Примечание

Количество

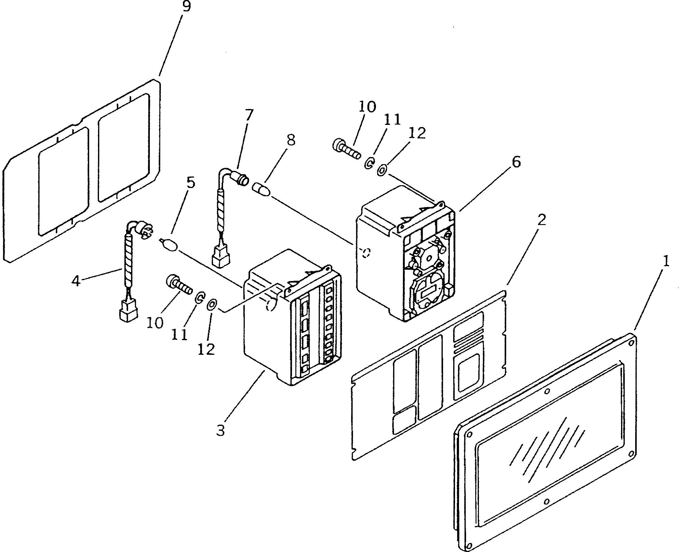
|1

7831-61-2000

PANEL ASS'Y

SN: 3689-UP

1шт.

1

7831-61-3000

PANEL

SN: 3689-UP

1шт.

2

7831-61-4110

PLATE

SN: 3689-UP

1шт.

3

7831-61-6100

MODULE

SN: 3689-UP

1шт.

4

7831-61-9110

HOLDER

SN: 3689-UP

1шт.

5

08102-12403

BULB¤ 3W

SN: 3689-UP

1шт.

6

7831-62-6100

SERVICE METER

SN: 3689-UP

1шт.

7

7831-62-9110

HOLDER

SN: 3689-UP

1шт.

8

7815-11-1010

BULB¤ 1.4W

SN: 3689-UP

1шт.

9

7831-61-1910

GASKET

SN: 3689-UP

1шт.

10

7861-86-1330

SCREW

SN: 3689-UP

8шт.

11

01601-00410

WASHER

SN: 3689-UP

8шт.

12

01641-00405

WASHER

SN: 3689-UP

8шт.

Выбрано товаров: 13