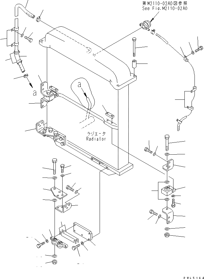
Запчасти Komatsu D85P-21-E КРЕПЛЕНИЕ РАДИАТОРА ЧАСТИ КОРПУСА

Схема запчастей Komatsu D85P-21-E - КРЕПЛЕНИЕ РАДИАТОРА ЧАСТИ КОРПУСА
1
1
2
2
3
4
5
5
5
6
7
7
8
8
9
10
11
12
13
14
15
16
17
18
18
18
19
20
21
22
23
24
25
26
27
28
29
30
31
31
32
33
34
35
35
36
37
38
39
40
FIT
1:1
100%

Артикул

Название

Примечание

Количество

1

154-03-31190

BRACKET

SN: 3689-UP

2шт.

2

154-03-31520

BRACKET

SN: 3689-UP

2шт.

3

155-03-11440

ISOLATOR ASS'Y

SN: 3689-UP

2шт.

4

01091-52220

BOLT,REAMER

SN: 3689-UP

2шт.

5

01643-32260

WASHER

SN: 3689-UP

8шт.

6

01582-12218

NUT

SN: 3689-UP

2шт.

7

01010-81230

BOLT,(L.H.)

SN: 3689-UP

4шт.

|8

01010-81225

BOLT,(R.H.)

SN: 3689-UP

4шт.

8

01643-31232

WASHER

SN: 3689-UP

8шт.

9

155-03-11460

PLATE

SN: 3689-UP

2шт.

10

01010-81075

BOLT

SN: 3689-UP

4шт.

11

01643-31032

WASHER

SN: 3689-UP

4шт.

12

154-03-31240

BRACKET,L.H.

SN: 3689-UP

1шт.

13

154-03-31230

PLATE

SN: 3689-UP

2шт.

14

01010-81435

BOLT

SN: 3689-UP

4шт.

15

195-71-32220

WASHER

SN: 3689-UP

4шт.

16

195-03-22501

ISOLATOR ASS'Y

SN: 3689-UP

2шт.

17

01091-52205

BOLT

SN: 3689-UP

4шт.

18

01643-32260

WASHER

SN: 3689-UP

12шт.

19

01582-12218

NUT

SN: 3689-UP

4шт.

20

195-03-22270

SHIM¤ 1.0MM

SN: 3689-UP

6шт.

21

01010-81245

BOLT

SN: 3689-UP

4шт.

22

01643-31232

WASHER

SN: 3689-UP

4шт.

23

154-03-31220

PLATE

SN: 3689-UP

2шт.

24

01010-81240

BOLT,(L.H.)

SN: 3689-UP

3шт.

|25

01010-81235

BOLT,(R.H.)

SN: 3689-UP

3шт.

25

01643-31232

WASHER

SN: 3689-UP

6шт.

26

154-03-31250

BRACKET,R.H.

SN: 3689-UP

1шт.

27

01010-81230

BOLT

SN: 3689-UP

6шт.

28

130-43-64260

COLLAR

SN: 3689-UP

6шт.

29

01011-81640

BOLT

SN: 3689-UP

4шт.

30

154-03-13240

COLLAR

SN: 3689-UP

4шт.

31

195-03-11690

CLIP

SN: 3689-UP

3шт.

32

01010-81220

BOLT

SN: 3689-UP

3шт.

33

01643-31232

WASHER

SN: 3689-UP

3шт.

34

154-03-31361

HOSE

SN: 3689-UP

1шт.

35

07281-00419

CLAMP

SN: 3689-UP

2шт.

36

205-62-53780

COVER

SN: 3689-UP

1шт.

37

08034-00823

BAND

SN: 3689-UP

2шт.

38

581-04-22290

CLIP

SN: 3689-UP

2шт.

39

01010-81220

BOLT

SN: 3689-UP

2шт.

40

01643-31232

WASHER

SN: 3689-UP

2шт.

Выбрано товаров: 42