Запчасти Komatsu D85P-21-E КРЕПЛЕНИЕ ДВИГАТЕЛЯ КОМПОНЕНТЫ ДВИГАТЕЛЯ

Схема запчастей Komatsu D85P-21-E - КРЕПЛЕНИЕ ДВИГАТЕЛЯ КОМПОНЕНТЫ ДВИГАТЕЛЯ
FIT
1:1
100%

Артикул

Название

Примечание

Количество

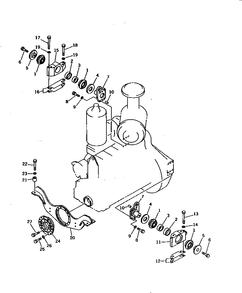
1

154-01-21310

CUSHION

SN: 3689-UP

4шт.

2

154-01-21320

CUSHION

SN: 3689-UP

2шт.

3

154-01-21330

CUSHION

SN: 3689-UP

2шт.

4

154-01-21340

SPACER

SN: 3689-UP

2шт.

5

154-01-21350

PLATE

SN: 3689-UP

2шт.

6

01010-61835

BOLT

SN: 3689-UP

2шт.

7

154-01-21360

PIN

SN: 3689-UP

2шт.

8

01010-61850

BOLT

SN: 3689-UP

8шт.

9

01643-31845

WASHER

SN: 3689-UP

8шт.

10

04020-01434

PIN

SN: 3689-UP

4шт.

11

154-01-21370

CAP

SN: 3689-UP

1шт.

12

154-01-00050

SHIM ASS'Y,L.H.

SN: 3689-UP

1шт.

|12

0

SHIM¤ 0.2MM

SN: 3689-UP

10шт.

|12

0

SHIM¤ 1.0MM

SN: 3689-UP

2шт.

13

01011-62065

BOLT

SN: 3689-UP

4шт.

14

01643-32060

WASHER

SN: 3689-UP

4шт.

15

154-01-21380

CAP

SN: 3689-UP

1шт.

16

154-01-00060

SHIM ASS'Y,R.H.

SN: 3689-UP

1шт.

|16

0

SHIM¤ 0.2MM

SN: 3689-UP

10шт.

|16

0

SHIM¤ 1.0MM

SN: 3689-UP

2шт.

17

01011-62065

BOLT

SN: 3689-UP

2шт.

18

01011-62005

BOLT

SN: 3689-UP

2шт.

19

01643-32060

WASHER

SN: 3689-UP

4шт.

20

154-01-21130

SUPPORT,FRONT

SN: 3689-UP

1шт.

21

195-01-11190

SPACER

SN: 3689-UP

4шт.

22

01011-62000

BOLT

SN: 3689-UP

4шт.

23

01643-32060

WASHER

SN: 3689-UP

4шт.

24

154-01-31100

BUSHING ASS'Y

SN: 3689-UP

1шт.

25

01010-81235

BOLT

SN: 3689-UP

12шт.

26

01643-31232

WASHER

SN: 3689-UP

12шт.

27

01010-81030

BOLT

SN: 3689-UP

8шт.

Выбрано товаров: 31