Запчасти Komatsu D85P-21-EP ЗАЩИТА РАДИАТОРА (С РЕШЕТКА РАДИАТОРА) ЧАСТИ КОРПУСА

Схема запчастей Komatsu D85P-21-EP - ЗАЩИТА РАДИАТОРА (С РЕШЕТКА РАДИАТОРА) ЧАСТИ КОРПУСА
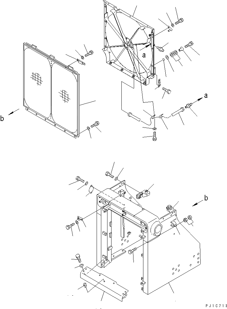
1
2
3
4
5
6
7
8
9
10
11
12
13
14
15
16
17
18
19
20
21
22
23
24
25
26
27
28
29
30
30
31
32
33
34
35
36
37
38
39
40
41
FIT
1:1
100%

Артикул

Название

Примечание

Количество

1

154-54-45110

GUARD

SN: 3689-UP

1шт.

2

154-55-31290

PIN (WELDED)

SN: 3689-UP

1шт.

3

01010-80835

BOLT

SN: 3689-UP

2шт.

4

01580-10806

NUT

SN: 3689-UP

4шт.

5

154-54-45250

BRACKET

SN: 3689-UP

2шт.

6

01010-81230

BOLT

SN: 3689-UP

4шт.

7

01643-31232

WASHER

SN: 3689-UP

4шт.

8

154-54-41420

BRACKET,L.H.

SN: 3689-UP

1шт.

9

154-54-41430

BRACKET,R.H.

SN: 3689-UP

1шт.

10

01010-81255

BOLT

SN: 3689-UP

6шт.

11

01643-31232

WASHER

SN: 3689-UP

6шт.

12

195-54-26140

PLATE

SN: 3689-UP

1шт.

13

01010-81020

BOLT

SN: 3689-UP

2шт.

14

01643-31032

WASHER

SN: 3689-UP

2шт.

15

154-54-41180

SUPPORT

SN: 3689-UP

1шт.

16

01010-81640

BOLT

SN: 3689-UP

4шт.

17

01643-31645

WASHER

SN: 3689-UP

4шт.

18

07049-01012

PLUG

SN: 3689-UP

1шт.

19

154-03-12135

PROTECTOR

SN: 3689-UP

1шт.

20

01010-81025

BOLT

SN: 3689-UP

6шт.

21

01602-21030

WASHER

SN: 3689-UP

6шт.

22

198-03-22410

PLATE

SN: 3689-UP

3шт.

23

01010-81020

BOLT

SN: 3689-UP

6шт.

24

01643-31032

WASHER

SN: 3689-UP

6шт.

25

154-03-31171

GUARD

SN: 3689-UP

1шт.

26

195-03-13150

CUSHION

SN: 3689-UP

2шт.

27

01010-81020

BOLT

SN: 3689-UP

4шт.

28

154-03-31421

TUBE

SN: 3689-UP

1шт.

29

07213-50710

CONNECTOR

SN: 3689-UP

2шт.

30

566-16-11970

CLIP

SN: 3689-UP

2шт.

31

01010-80816

BOLT

SN: 3689-UP

2шт.

32

01643-30823

WASHER

SN: 3689-UP

2шт.

33

07020-00000

FITTING,GREASE

SN: 3689-UP

1шт.

34

175-03-32710

PIN

SN: 3689-UP

1шт.

35

01010-81230

BOLT

SN: 3689-UP

1шт.

36

01643-31232

WASHER

SN: 3689-UP

1шт.

|37

154-03-00030

SPRING ASS'Y

SN: 3689-UP

1шт.

37

154-03-13180

SPACER

SN: 3689-UP

1шт.

38

175-54-27350

SPRING

SN: 3689-UP

4шт.

39

175-54-28770

RING

SN: 3689-UP

1шт.

40

01643-32060

WASHER

SN: 3689-UP

8шт.

41

01010-81255

BOLT

SN: 3689-UP

8шт.

Выбрано товаров: 42