Запчасти Komatsu D85P-21 ПАНЕЛЬ ПРИБОРОВ (/)(№-) КОМПОНЕНТЫ ДВИГАТЕЛЯ И ЭЛЕКТРИКА

Схема запчастей Komatsu D85P-21 - ПАНЕЛЬ ПРИБОРОВ (/)(№-) КОМПОНЕНТЫ ДВИГАТЕЛЯ И ЭЛЕКТРИКА
FIT
1:1
100%

Артикул

Название

Примечание

Количество

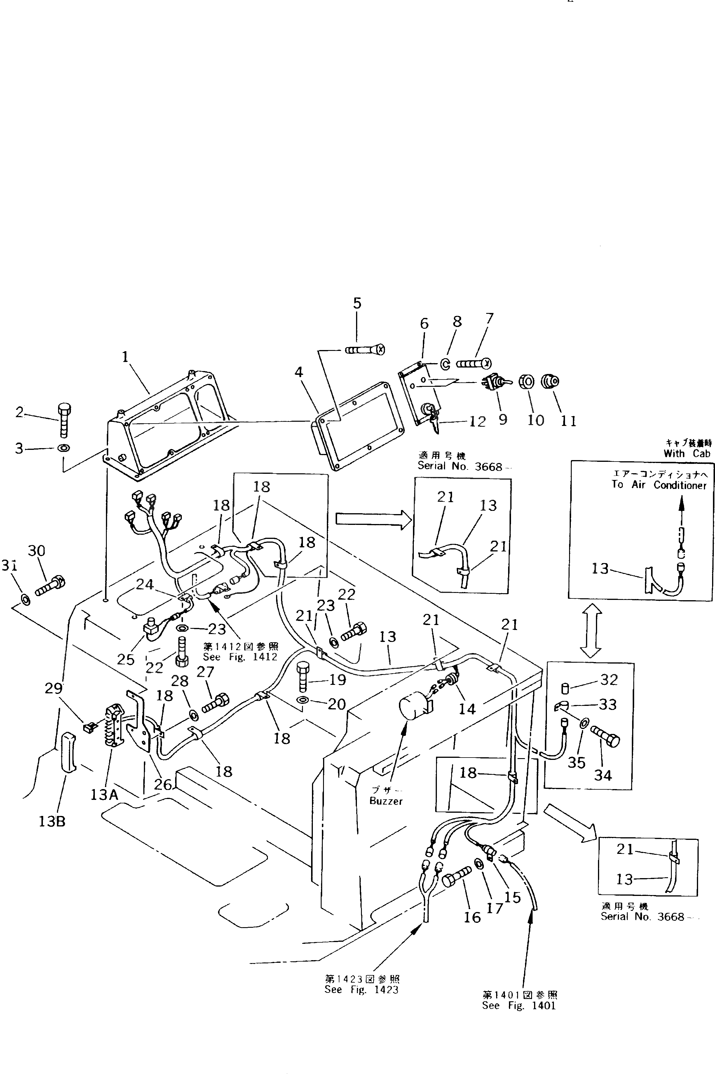
1

195-06-41110

BRACKET

SN: 3001-UP

1шт.

2

01010-51225

BOLT

SN: 3001-UP

4шт.

3

01643-31232

WASHER

SN: 3001-UP

4шт.

4

7831-61-2000

PANEL ASS'Y

SN: 3001-UP

1шт.

5

01225-40620

SCREW

SN: 3001-UP

6шт.

6

154-06-41261

PANEL

SN: 3001-UP

1шт.

7

01220-40620

SCREW

SN: 3001-UP

4шт.

8

01602-20619

WASHER,SPRING

SN: 3001-UP

4шт.

9

195-06-25250

SWITCH

SN: 3001-UP

2шт.

10

7808-19-1920

NUT

SN: 3001-UP

2шт.

11

175-06-27250

CAP

SN: 3001-UP

2шт.

12

7830-11-2510

SWITCH,STARTING

SN: 3001-UP

1шт.

13

154-06-41232

WIRING HARNESS

SN: 3668-UP

1шт.

13

154-06-41231

WIRING HARNESS

SN: 3303-3667

1шт.

13

154-06-41230

WIRING HARNESS

SN: 3001-3302

1шт.

13A

195-Z11-2280

BODY

SN: 3001-UP

1шт.

13B

195-Z11-2290

COVER

SN: 3001-UP

1шт.

14

144-874-7520

GROMMET

SN: 3001-UP

1шт.

15

195-06-41830

CLIP

SN: 3001-UP

1шт.

16

01010-51220

BOLT

SN: 3001-UP

1шт.

17

01643-31232

WASHER

SN: 3001-UP

1шт.

18

08036-01814

CLIP

SN: 3668-UP

4шт.

18

08036-01814

CLIP

SN: 3001-3667

7шт.

19

01010-51220

BOLT

SN: 3001-UP

6шт.

20

01643-31232

WASHER

SN: 3001-UP

6шт.

21

08036-02514

CLIP

SN: 3668-UP

6шт.

21

08036-02514

CLIP

SN: 3001-3667

3шт.

22

01010-51220

BOLT

SN: 3001-UP

4шт.

23

01643-31232

WASHER

SN: 3001-UP

4шт.

24

08036-01014

CLIP

SN: 3668-UP

1шт.

24

08036-11214

CLIP,HORN

SN: 3001-3667

1шт.

25

195-06-41180

SWITCH,HORN

SN: 3001-UP

1шт.

26

154-06-41270

PLATE

SN: 3001-UP

1шт.

27

01010-51225

BOLT

SN: 3001-UP

2шт.

28

01643-31232

WASHER

SN: 3001-UP

2шт.

29

205-06-73180

FUSE, 15A

SN: 3001-UP

13шт.

30

01252-30518

BOLT

SN: 3001-UP

2шт.

31

01641-20508

WASHER

SN: 3001-UP

2шт.

32

207-06-31360

CONNECTOR

SN: 3001-UP

1шт.

33

195-06-41830

CLIP

SN: 3001-UP

1шт.

34

01010-51220

BOLT

SN: 3001-UP

1шт.

35

01643-31232

WASHER

SN: 3001-UP

1шт.

Выбрано товаров: 42